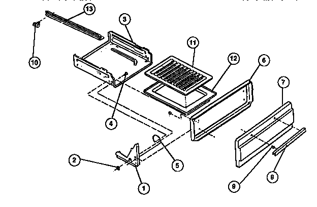
G30NL3 05 – DRAWER