| 1A | WCI 3018860 |
| 1 | WCI 3200673 |
| 2 | WCI 3131386 |
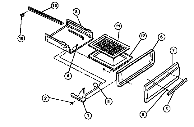
| 3 | DRAWER-BROILER |
| 4 | PIN, HINGE (2) |
| 5A | SPRING-BROILER, RH |
| 5 | WCI 3018618` |
| 6 | WCI 3202803 |
| 7 | PANEL - BROILER ALMD |
| 8 | HANDLE-DRAWER, BRUSHED CHROME |
| 9 | FSTNR, SPACER (2) |
| 10 | GLIDE-DRAWER, REAR |
| 11 | WCI 5303131356 |
| 12A | INSULATION, BROILER DRAWER |
| 12 | PAN-BROILER |
| 12C | SCREW-PNL ASSY (2) |
| 12B | 5303300265 Frigidaire Oven Screw |
| 13 | WCI 3131153 |
| 13A | WCI 3206216 |