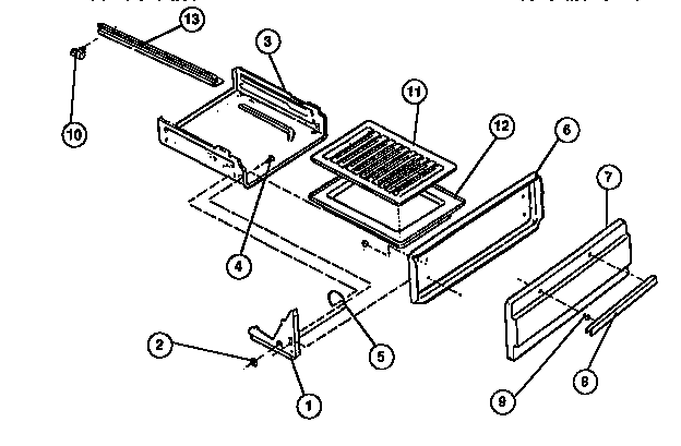
G30NW2 05 – DRAWER