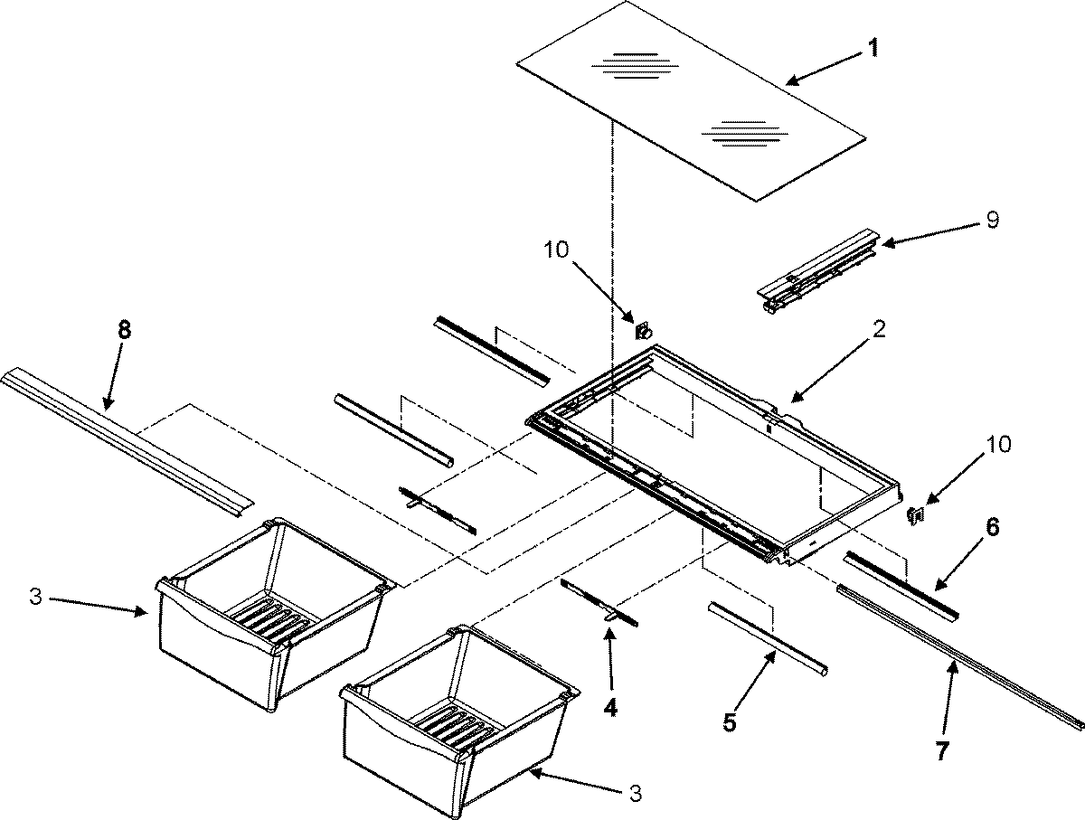
G32526PEKS 04 – CRISPER ASSEMBLYadmin2025-04-26T09:27:19+00:00G32526PEKS 04 – CRISPER ASSEMBLY ProductsPositionProduct1WP67006704 Whirlpool Glass Crisper Cover2WP67003854 Whirlpool Shelf Frame3WP67004515 Whirlpool Crisper Drawer4SLIDE5WP67003417 Whirlpool Refrigerator Front Seal6WP67002513 Whirlpool Refrigerator Rear Crisper Seal7WP12642303WD Whirlpool Refrigerator Drawer Support8EXTR, CRISPER FRONT9WPW10326469 Whirlpool Drawer Slide Rail10WP12603701 Whirlpool Refrigerator Support