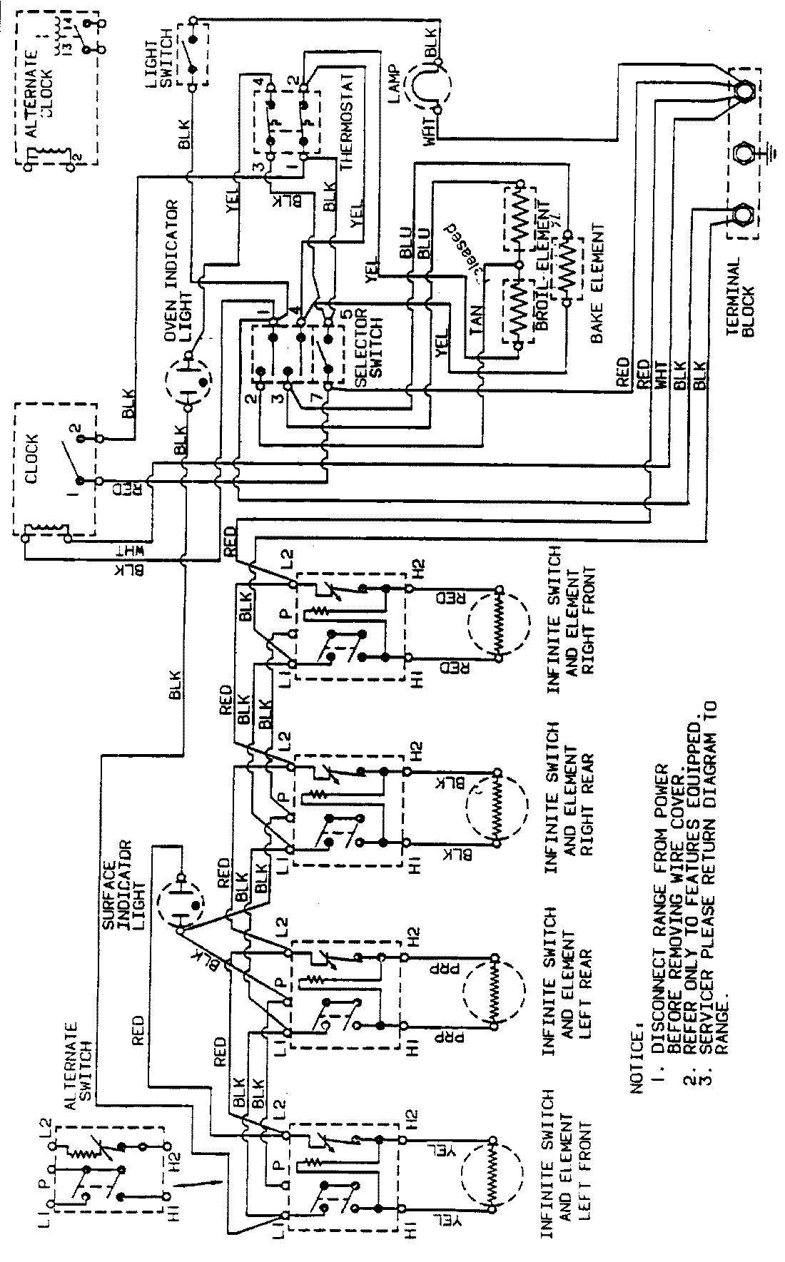
G3521WRA-3 06 – WIRING INFORMATIONadmin2025-04-26T09:25:47+00:00G3521WRA-3 06 – WIRING INFORMATION ProductsPositionProductNIMAY 15001161