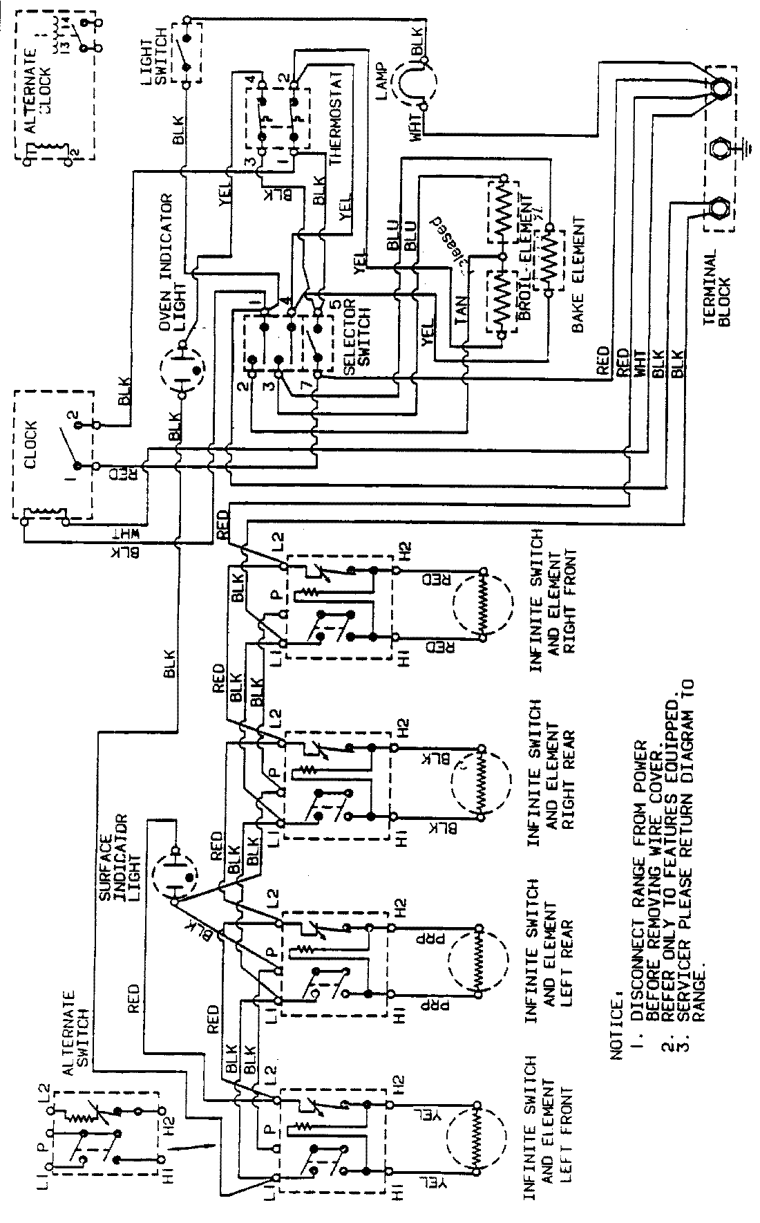
GA3631XUWG 06 – WIRING INFORMATIONadmin2025-04-26T08:57:45+00:00GA3631XUWG 06 – WIRING INFORMATION ProductsPositionProductNIMAY 15001161