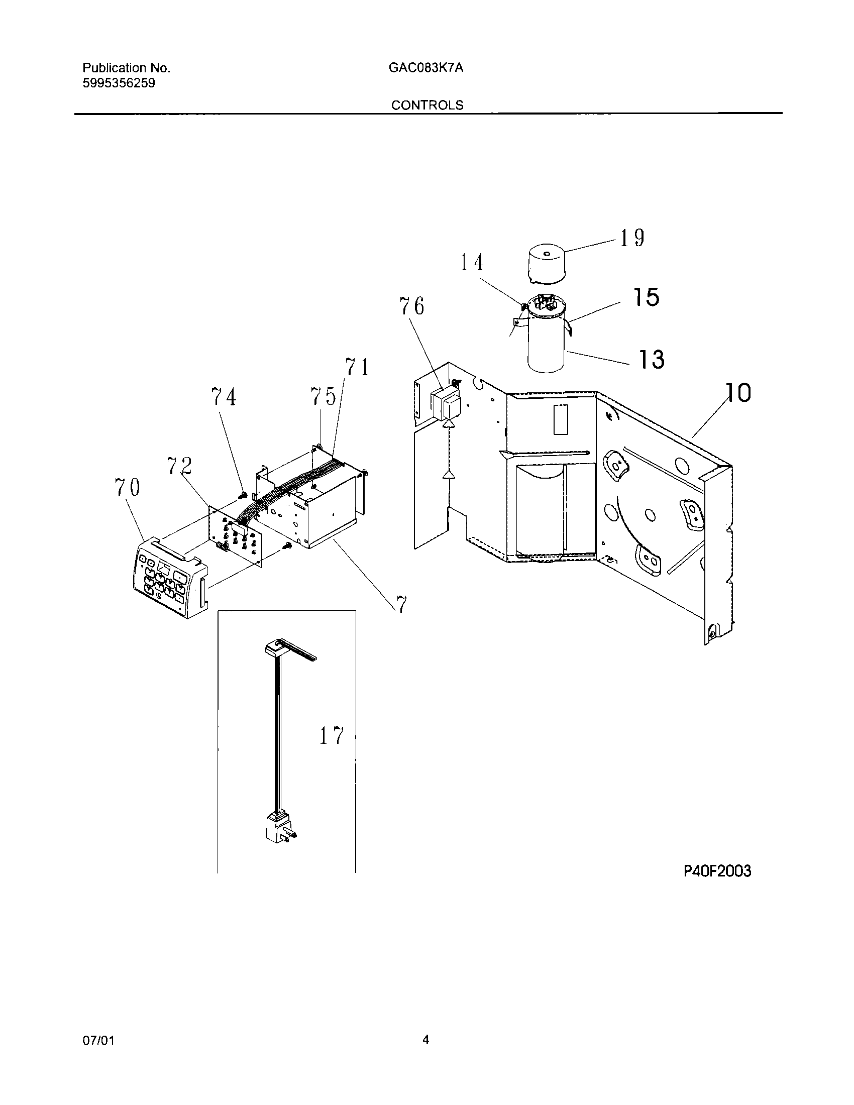
GAC083K7A2 05 – CONTROLSadmin2025-04-26T09:24:13+00:00GAC083K7A2 05 – CONTROLS ProductsPositionProductNIWCI 5303302855NIWCI 309111201NISLEEVE-CAP TUBE (NON-ILLUSTRATED)7WCI 3093503028SWITCH-SELECTOR9WCI 530440283810WCI 30960240412WCI 30910120213WCI 530331896314134178901 Frigidaire Screw15WCI 530330308617WCI 30934310118SCREW