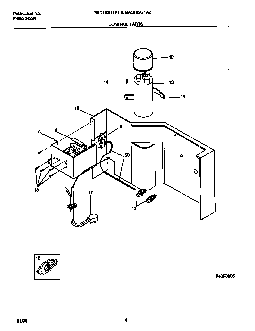
GAC103G1A1 03 – CONTROL PARTSadmin2025-04-26T09:22:30+00:00GAC103G1A1 03 – CONTROL PARTS ProductsPositionProduct7WCI 3096025028SWITCH-SELECTOR9WCI 530330285210WCI 30960240112WCI 30910120213WCI 530331896314134178901 Frigidaire Screw15WCI 530330308617WCI 530440329318SCREW19WCI 530330285520SLEEVE-CAP TUBE (NON-ILLUSTRATED)