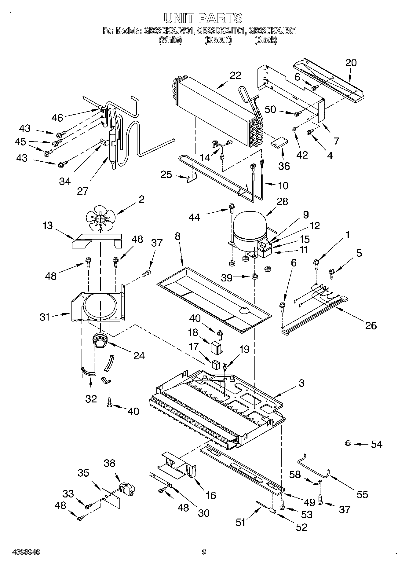
GB22DKXJB01 06 – UNIT