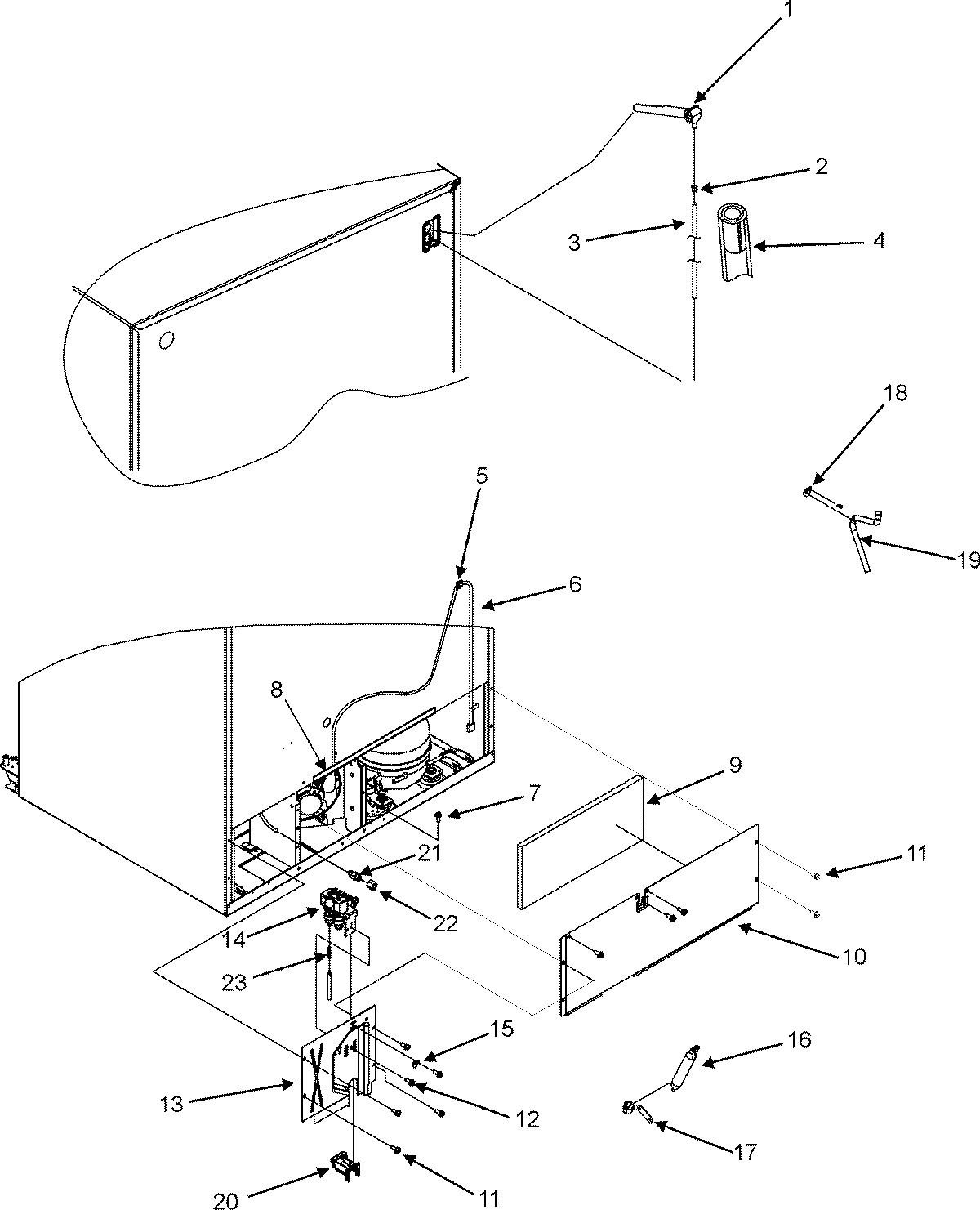
GC2224GEKW 01 – CABINET BACK