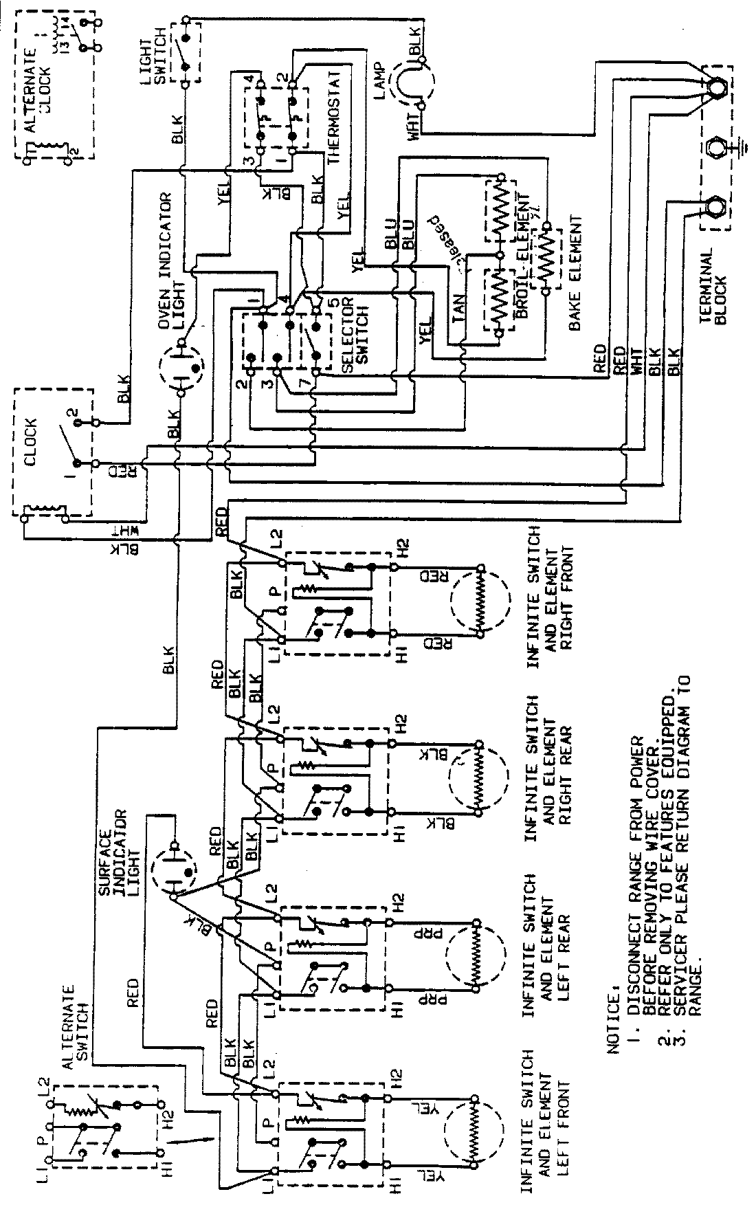
GC3531WUW 06 – WIRING INFORMATIONadmin2025-04-26T08:57:38+00:00GC3531WUW 06 – WIRING INFORMATION ProductsPositionProductNIMAY 15001161