| Guide, Use And Care |
| Instructions, Installation |
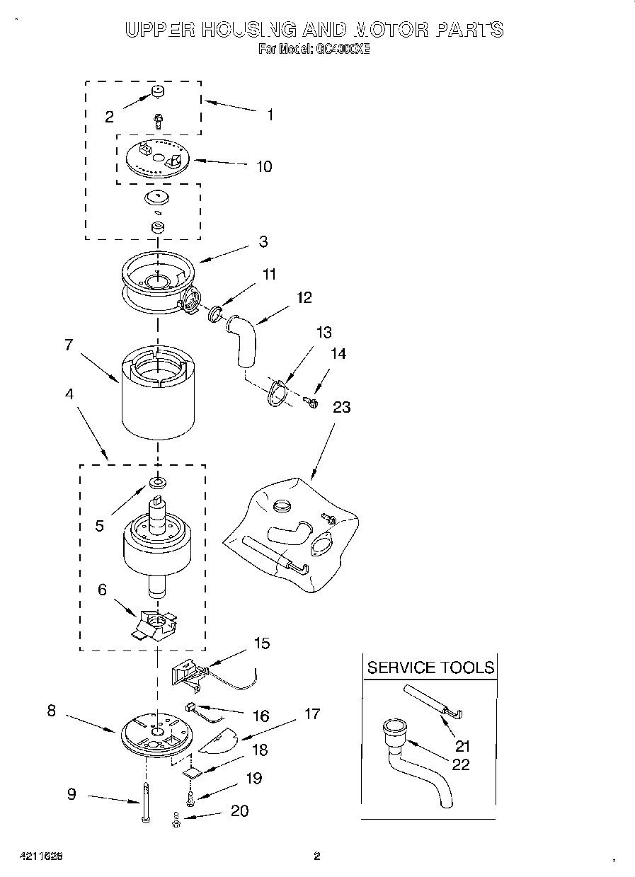
| 2 | 4211578 Whirlpool Disposer Sleeve |
| 3 | End Bell Assembly (Upper) |
| 4 | Rotor & Shaft Assembly |
| 5 | 4211321 Whirlpool Washer |
| 6 | 4211322 Whirlpool Disposer Actuator |
| 7 | Stator Assembly |
| 8 | End Frame Assembly, Lower |
| 9 | Bolt, Thru |
| 10 | Shredder |
| 11 | Gasket, Tailpipe |
| 12 | 4211317 Whirlpool Disposer Tail Pipe |
| 13 | Flange, Tailpipe |
| 14 | WP8204624 Whirlpool Bolt |
| 15 | 8174312 Whirlpool Disposer Switch |
| 16 | 882726 Whirlpool Disposer Overload Protector |
| 17 | Shield, Wire |
| 18 | Cover, Terminal |
| 19 | WP98008545 Whirlpool Screw |
| 20 | Screw, Tailpipe |
| 21 | WP8174310 Whirlpool Disposer Wrench |
| 22 | 4211396 Whirlpool Disposer Adapter |
| 23 | Kit, Installation (Includes No. 11, 12, 13 14, 21, Instructions, and Use and Care Guide) |