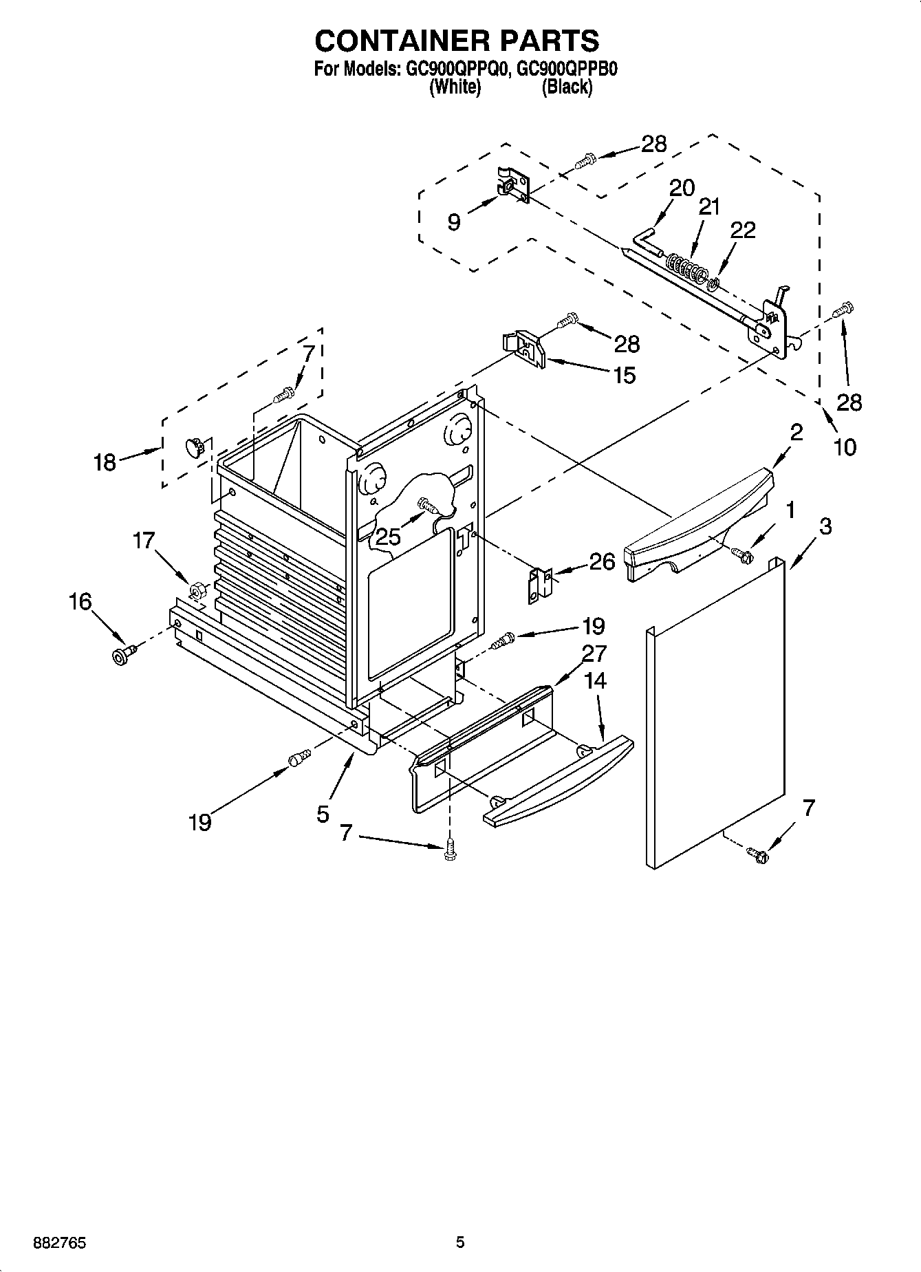
GC900QPPQ0 04 – CONTAINER PARTSadmin2025-04-26T11:41:08+00:00GC900QPPQ0 04 – CONTAINER PARTS ProductsPositionProduct1WP3400888 Whirlpool Compactor Screw2WP9872040B Whirlpool Compactor Handle29872040W Whirlpool Compactor Handle3WP9871309 Whirlpool Compactor Panel3WP9871311 Whirlpool Compactor Panel5Container Assembly7WP3196175 Whirlpool Screw9WP776395 Whirlpool Compactor Guide10675379 Whirlpool Compactor Drawer Latch14W11679165 Whirlpool Foot Pedal14WP9871031 Whirlpool Compactor Foot Pedal159871125 Whirlpool Compactor Actuator16WP9871602 Whirlpool Compactor Bearing17WP776356 Whirlpool Compactor Nut18RETAINER, BAG19WP780263 Whirlpool Compactor Screw20Pin21775736 Whirlpool Compactor Spring22Ring, ``E``25WPW10139210 Whirlpool Screw26775665 Whirlpool Compactor Plate Latch27WP777328 Whirlpool Compactor Guard27W10917704 Whirlpool Compactor Guard28WP489478 Whirlpool Refrigerator Screw