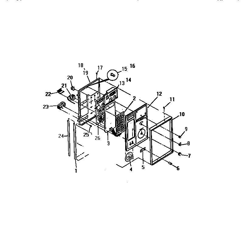
GC932EXD4 02 – CONTROL PANEL