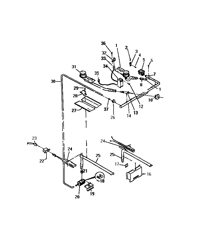
GC932EXF5 09 – BURNER ASSY.admin2025-04-26T09:26:24+00:00GC932EXF5 09 – BURNER ASSY. ProductsPositionProduct*70609WASHER, RUBBER, FUSE*70638WCI Q318034*70606HEX NUT FUSE1WCI 080T013P012WCI 260T007P023RECEPTACLE, FUSE HOLDER4SCREW (4) (NON-ILLUSTRATED)5CONTRL-PRESSURE REGULATOR6SCREW TRIM MTG (5) (NON-ILLUSTRATED)7WCI 008T276F048MIXER-AIR-TP BURNR10316035200 Frigidaire Ignition Switch125303017863 Frigidaire Screw13VALVE, TOP BURNERS (4)14WCI 439T046P0718WCI Q21319219WCI 072T655F0120WCI 774T117S0521MIXER-AIR-OVN BURNR22TUBE-IGNITER MTG23HARNESS-IGNITER24IGNITER-OVN BURNER LOT 325WCI 079T025P0926WCI 774T121P0127WCI 024T160F0128SHIELD-OVEN BOTTOM295303013272 Frigidaire Oven Nut30TUBE, OVEN SUPPLY31WCI 080T013P02323016993 Frigidaire Oven Retainer33WCI 036T049S10345303912606 Frigidaire Oven Range Spark Module 2+0 4 Large Terminals35WCI 036T049S1136SCREW-RETAINER MTG 8-18 X 3/8`` PH TR TP (2)37WCI 247T079P01