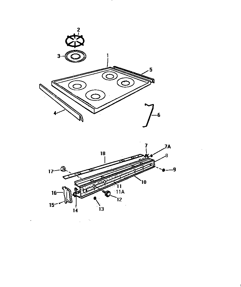
GC932EXV4 07 – CONTROL PANEL & TOPadmin2025-04-26T09:28:21+00:00GC932EXV4 07 – CONTROL PANEL & TOP ProductsPositionProduct1WCI Q2799102WCI Q27968535303131115 Frigidaire Range Chrome Drip Bowl, 8"4WCI 740T430W015WCI 740T430W026ROD (2)7AWCI 789T063P397WCI 695T166P018END CAP-CNTRL PNL RH10WCI 233T045P0111AWCI 319T012P1412WCI 358T142P9813WCI 045T064P0314WCI 695T164P03155303300265 Frigidaire Oven Screw16END CAP-CNTRL PNL LH17DIAL-INDICATOR18WCI 277T185P03