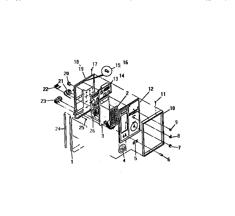
GC932EXW0 02 – CONTROL PANELadmin2025-04-26T09:26:51+00:00GC932EXW0 02 – CONTROL PANEL ProductsPositionProduct*38040WCI 636T069P05*380425303288565 Frigidaire Screw*38041SCREW BOARD (4)1WCI 174T172P031WCI 174T264P032WCI 696T146P063PANEL SWITCH4WCI 196T035P045WCI 045T066P016WCI 106T024P017WCI 358T145P018WCI 358T147P019KNOB-CLOCK10TRIM CONTROL PNL12WCI 277T204S0613WCI 148T176P0115FSTNR-CLOCK17SCREW SW PNL. (7)18WCI 521T085W0320WCI 697T032P0821WCI 722T038P1122PLUG DISCON 9 PIN23SWITCH ON-OFF24SEAL25SCREW SELECT. SW. (NON-ILLUSTRATED)26WCI 139T026P02