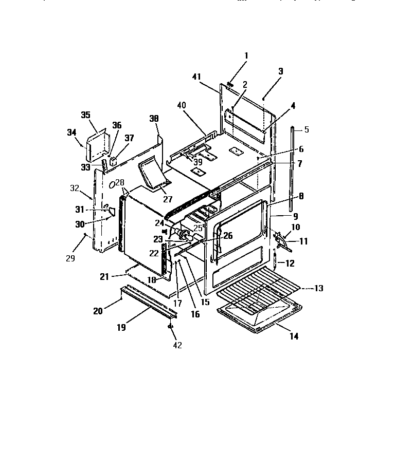
GCG34BCL0 23 – INTERIOR OVEN, PANELS, FRAMEadmin2025-04-26T09:30:00+00:00GCG34BCL0 23 – INTERIOR OVEN, PANELS, FRAME ProductsPositionProduct1WCI 80138783WCI 80080124AWCI 80115524WCI 80080187WCI 80140278WCI 80080229WCI 801405110WCI 800802511WCI 800802311AWCI 800802412ASPRING12WCI 801148413WCI 801147714WCI 801396916WCI 800803717WCI 800803818DWCI 800850918EWCI 800851018FWCI 801261518GWCI 801261418CWCI 801398218BWCI 801396518WCI 801397518AWCI 801397619WCI 801161221WCI 801399022SCREW23WCI 800803424WCI 800803326WCI 800803627WCI 801165131WCI 800804233WCI 801165034WCI 800790535WCI 800835736WCI 800804637WCI 801390938WCI 801260039BUSHING40WCI 801406441WCI 801401942WCI 8008041