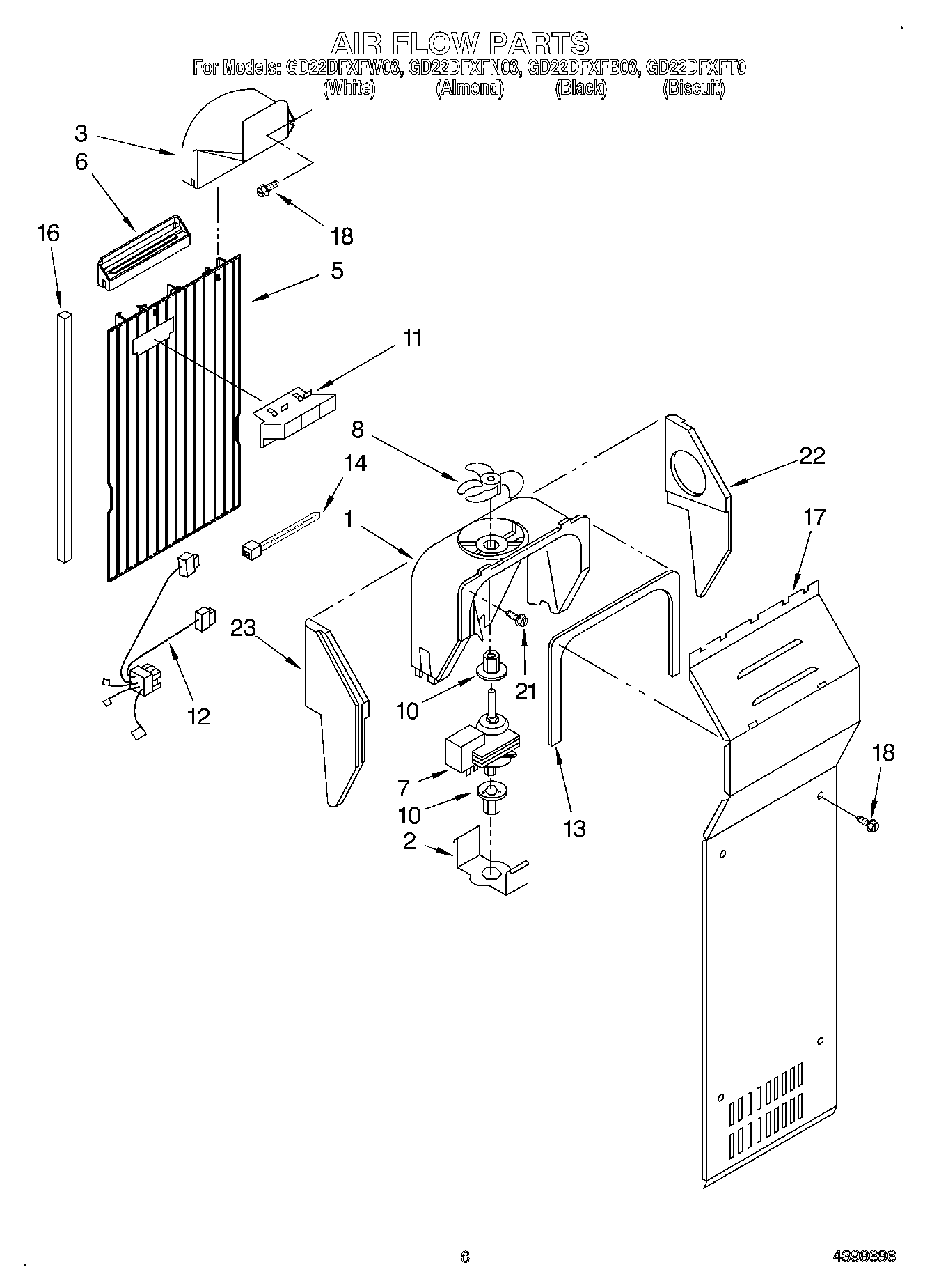
GD22DFXFW03 05 – AIR FLOW