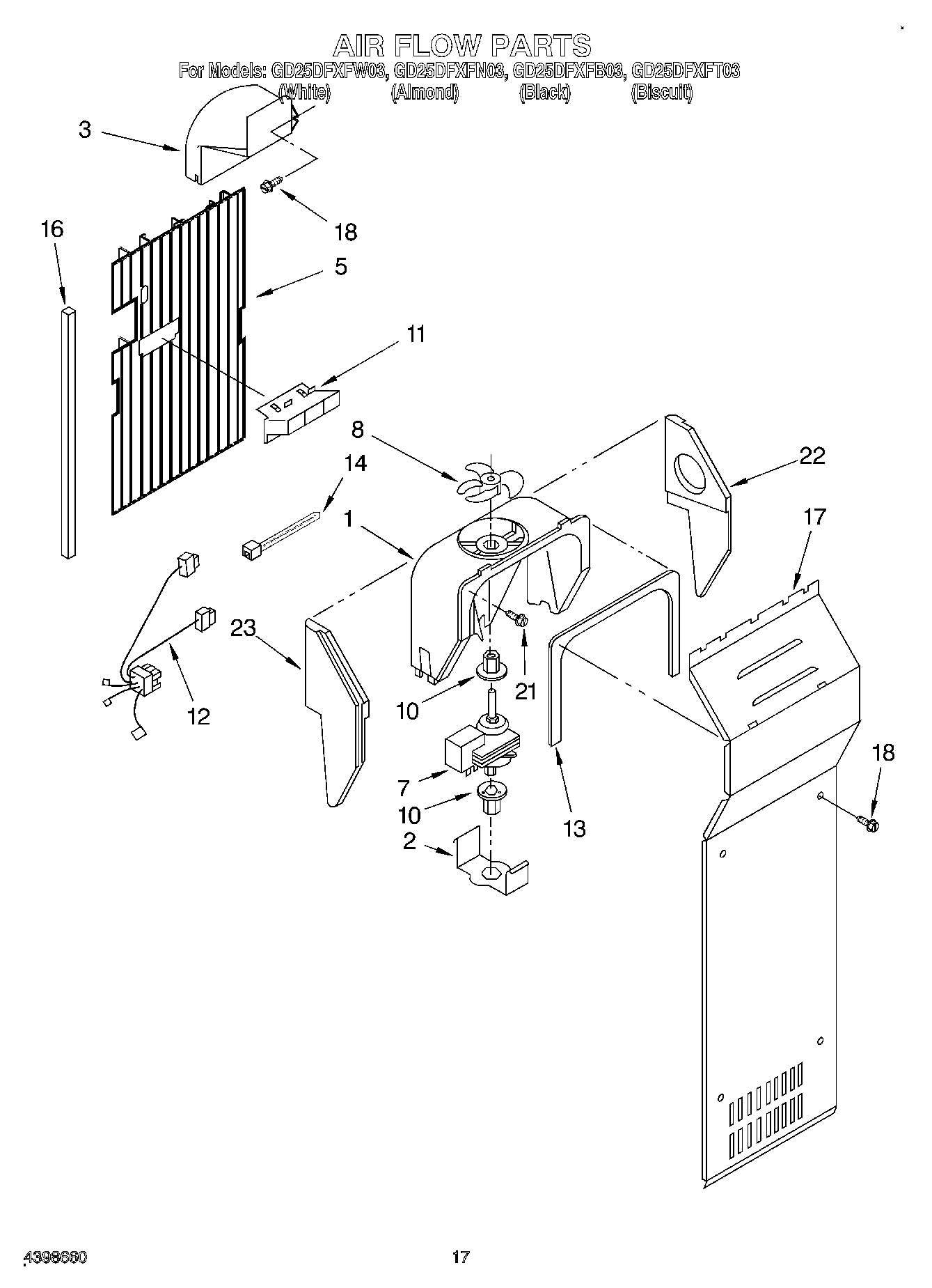
GD25DFXFW03 10 – AIR FLOW