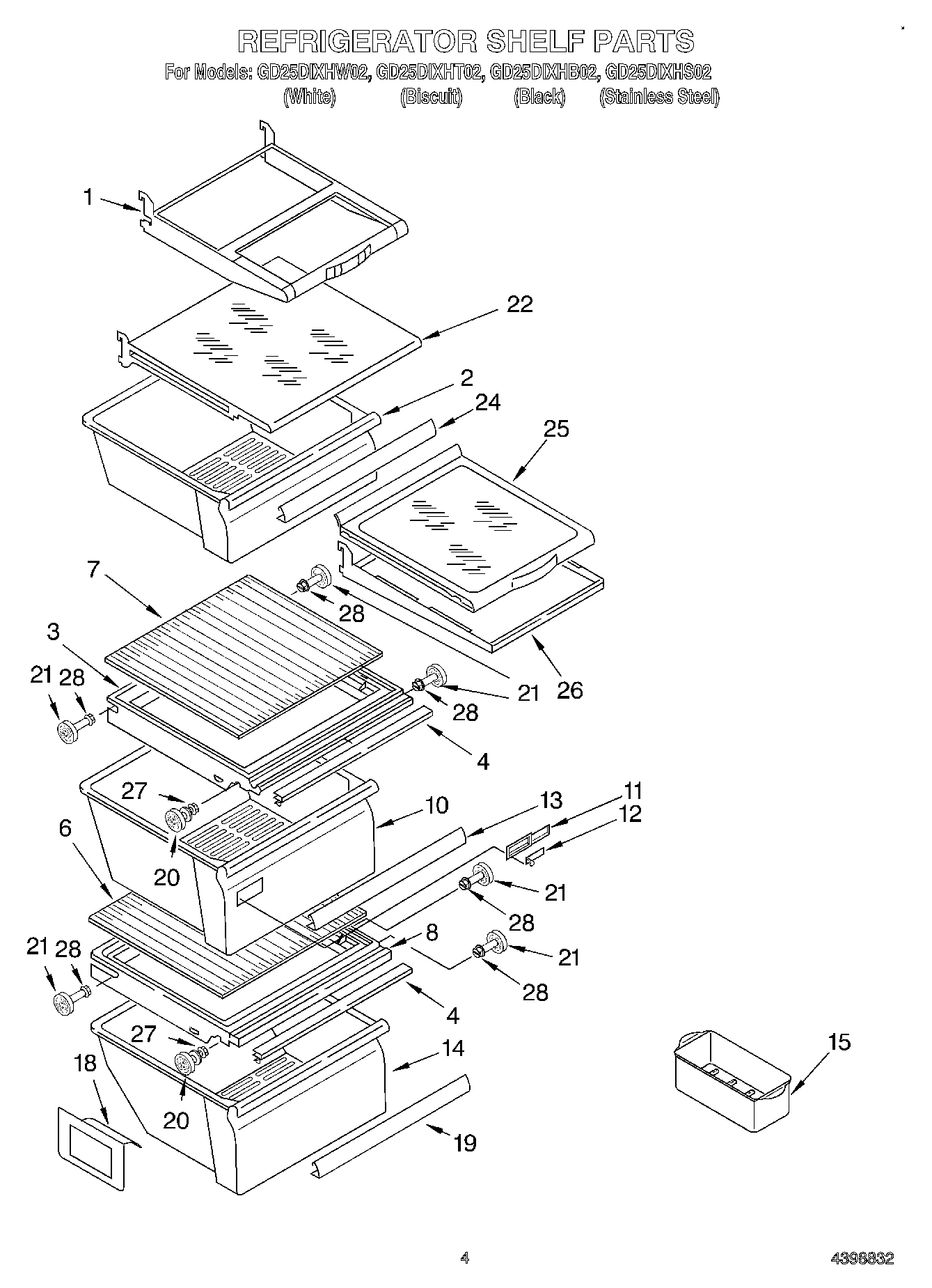
GD25DIXHW02 03 – REFRIGERATOR SHELFadmin2025-04-26T10:59:07+00:00GD25DIXHW02 03 – REFRIGERATOR SHELF ProductsPositionProduct1Shelf, Flip-Up2W11497323 Whirlpool Snack Pan4Gasket, Front7W10864399 Whirlpool Glass Shelf8W10508993 Whirlpool Refrigerator Cover Pan10PAN-CRISPR11WP2179343 Whirlpool Refrigerator Control Body12WP2179342 Whirlpool Refrigerator Slide14WP2188664 Whirlpool Dishwasher Meat Crisper Pan15W10136387A Whirlpool Refrigerator Egg Container182179350 Whirlpool Refrigerator Deflector19WP2179234 Whirlpool Refrigerator Pan Trim20W11223328 Whirlpool Refrigerator Shelf Stud21WP2196483 Whirlpool Refrigerator Shelf Stud22Shelf, Snack Bin24WP2179243 Whirlpool Refrigerator Pan Trim25WPW10141748 Whirlpool Refrigerator Glass Shelf26Frame, Shelf27WP3-24004-109 Whirlpool Refrigerator Screw28WP3400806 Whirlpool Screw