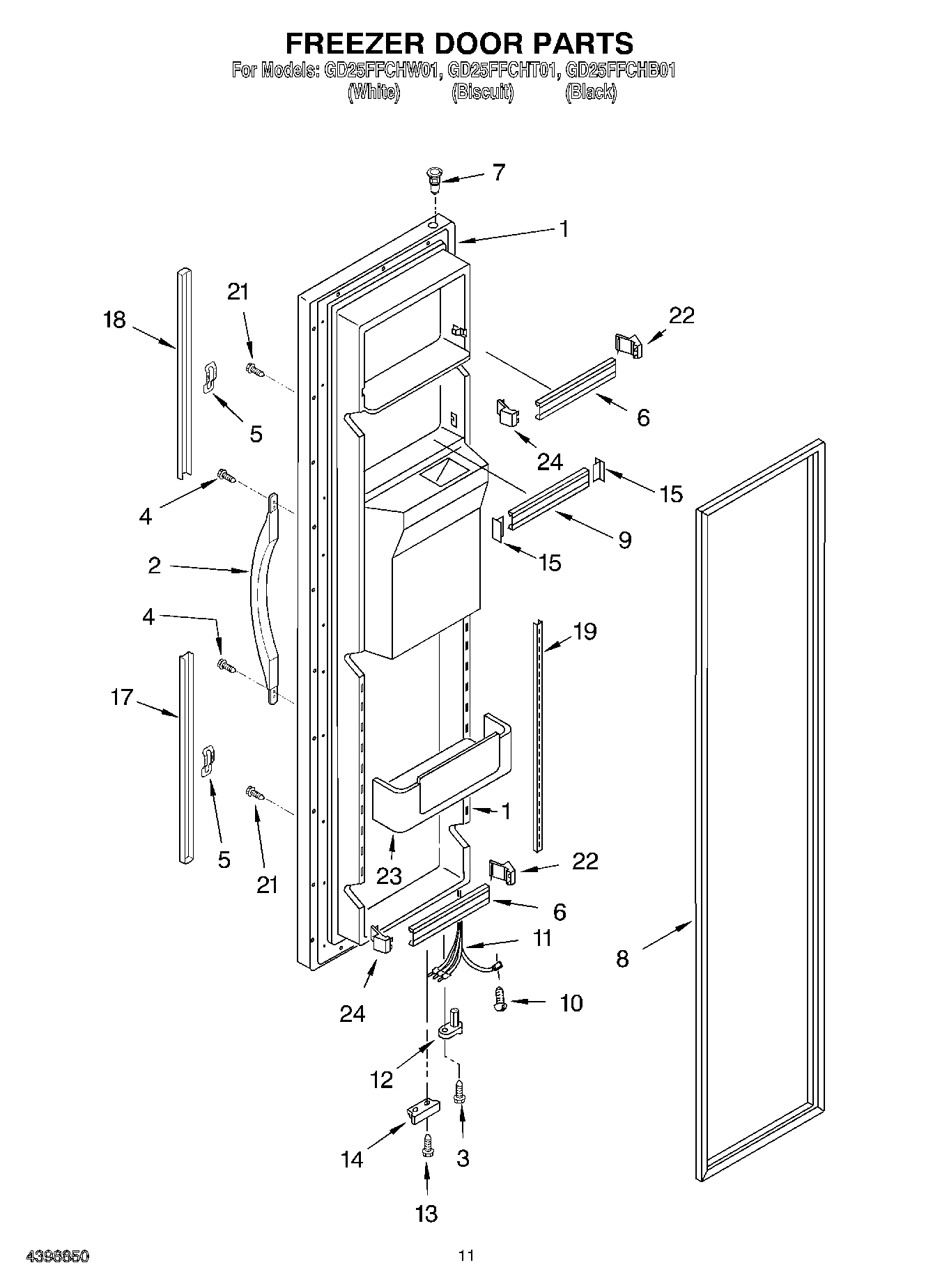
GD25FFCHT01 07 – FREEZER DOOR