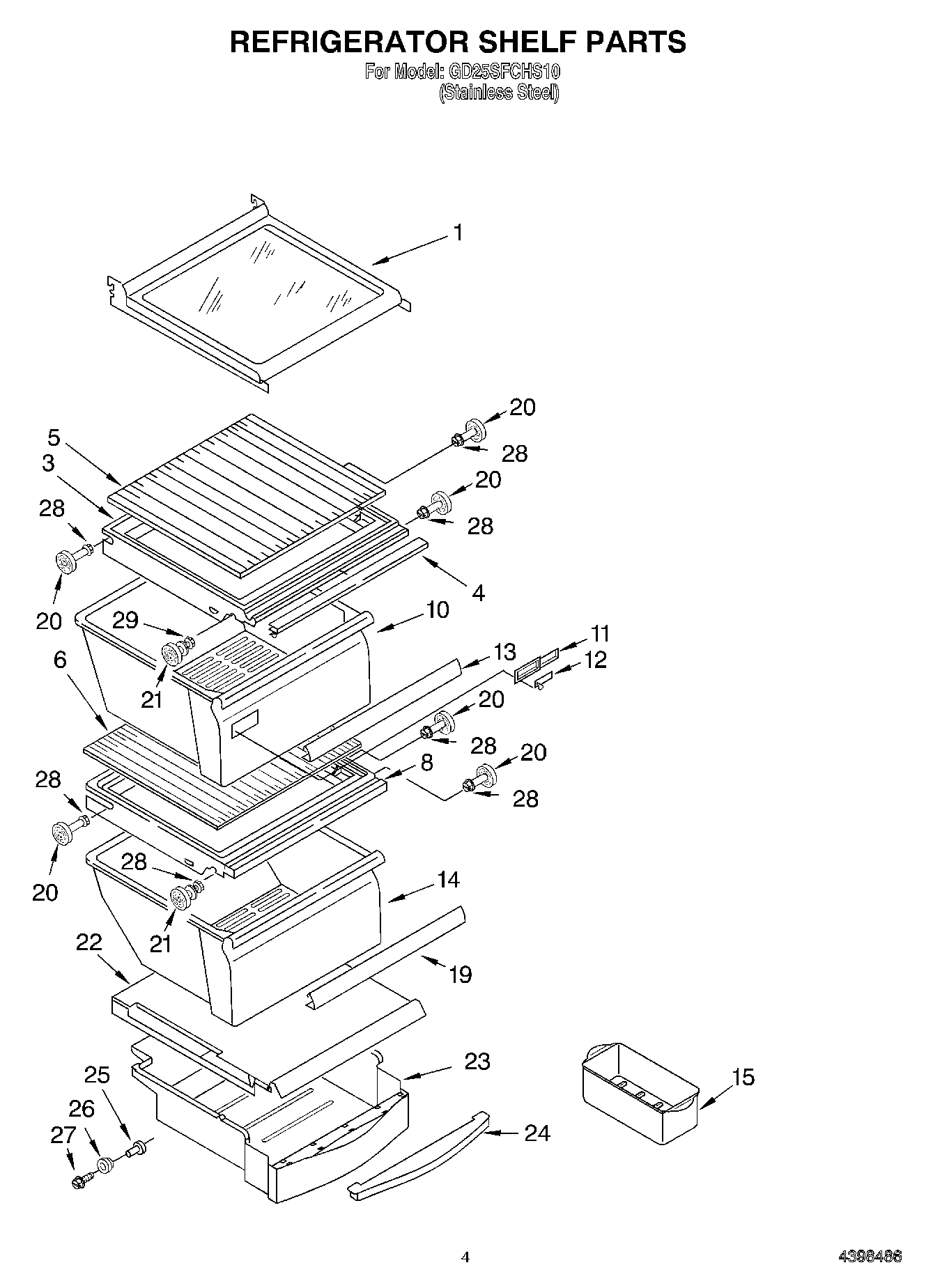
GD25SSFCHS10 03 – REFRIGERATOR SHELFadmin2025-04-26T11:02:03+00:00GD25SSFCHS10 03 – REFRIGERATOR SHELF ProductsPositionProduct1Shelf Assembly4Gasket, Front5W10864399 Whirlpool Glass Shelf8W10508993 Whirlpool Refrigerator Cover Pan10PAN-CRISPR11WP2179343 Whirlpool Refrigerator Control Body12WP2179342 Whirlpool Refrigerator Slide14WP2188661 Whirlpool Crisper Pan15W10136387A Whirlpool Refrigerator Egg Container19WP2179234 Whirlpool Refrigerator Pan Trim20WP2196483 Whirlpool Refrigerator Shelf Stud21W11223328 Whirlpool Refrigerator Shelf Stud22WPW10270150 Whirlpool Crisper Drawer Cover23Beverage Pan24Handle, Beverage25Roller26Eyelet, Roller27WPW10272364 Whirlpool Refrigerator Screw28WP3400806 Whirlpool Screw29WP3-24004-109 Whirlpool Refrigerator Screw