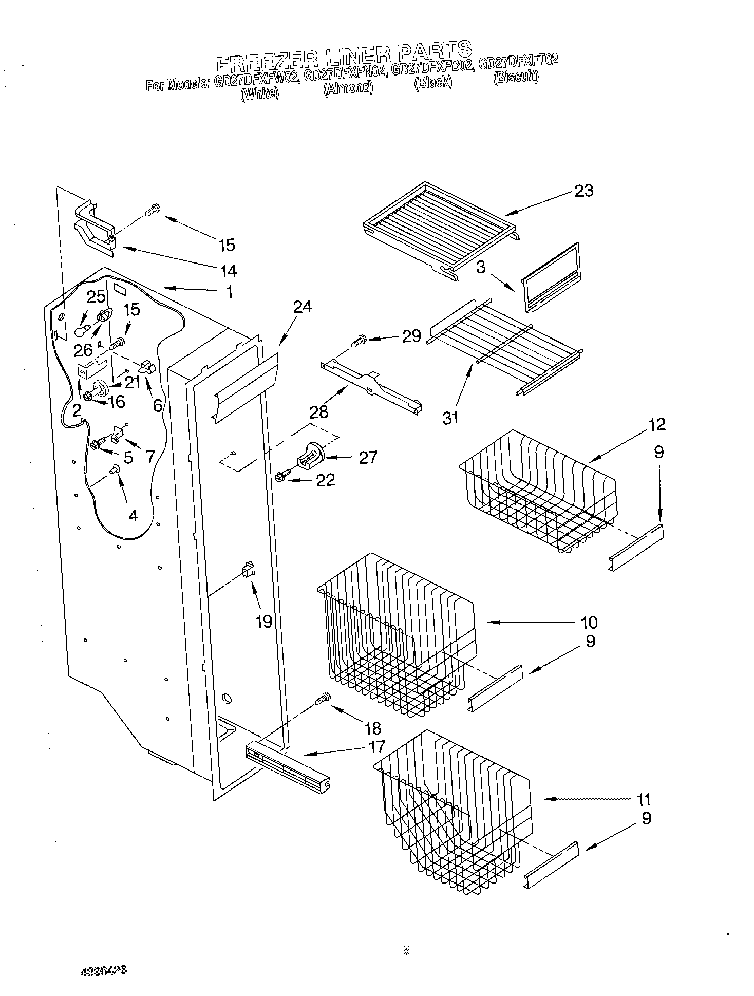
GD27DFXFN02 04 – FREEZER LINERadmin2025-04-26T11:00:34+00:00GD27DFXFN02 04 – FREEZER LINER ProductsPositionProduct1Liner (Not A Serviceable Part)2Bracket, Fill Tube3WP2171713 Whirlpool Refrigerator Ice Door4Grommet62215823 Whirlpool Refrigerator Clip74388405 Whirlpool Refrigerator Shelf Stud9Trim, Basket10Basket, Tall11Basket, Slope12Basket14Cover, Wiring15SCREW16WP3400806 Whirlpool Screw17Slide, Basket (Left Side (2))17Slide, Basket (Right Side (2))18W10759522 Whirlpool Screw19W11457217 Whirlpool Refrigerator Rocker Switch Combination21WP2196483 Whirlpool Refrigerator Shelf Stud22W10142289 Whirlpool Air Conditioner Screw23Shelf, Top Compartment242171705 Whirlpool Refrigerator Light Lens25RANGE ONLY 40W 120V APPL BULB264387478 Whirlpool Refrigerator Light Socket27Stud, Rear28W10845583 Whirlpool Refrigerator Track28W10845585 Whirlpool Refrigerator Track29718257 Whirlpool Dishwasher Screw31WP2174267 Whirlpool Refrigerator Wire Shelf