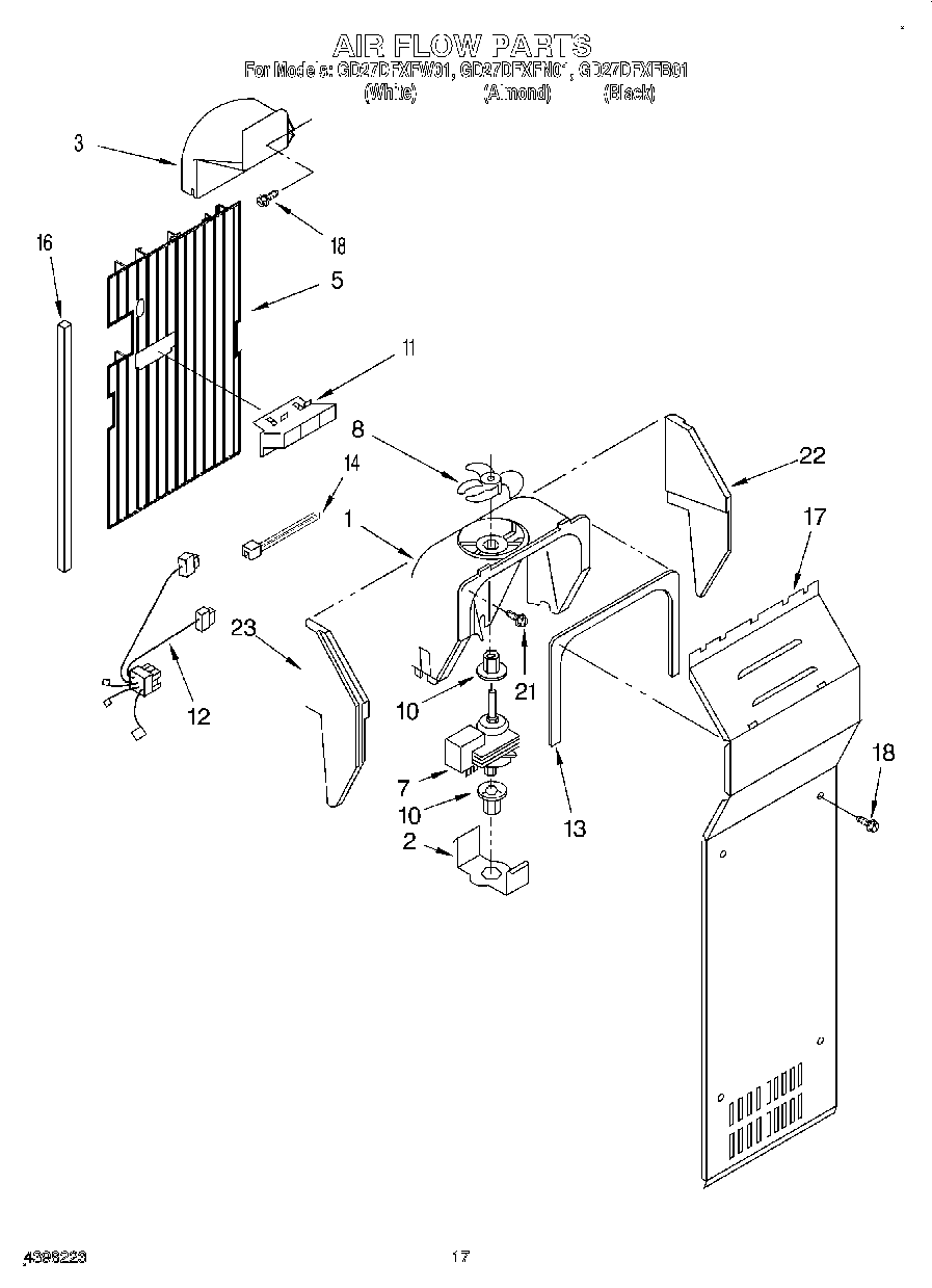
GD27DFXFW01 10 – AIR FLOW