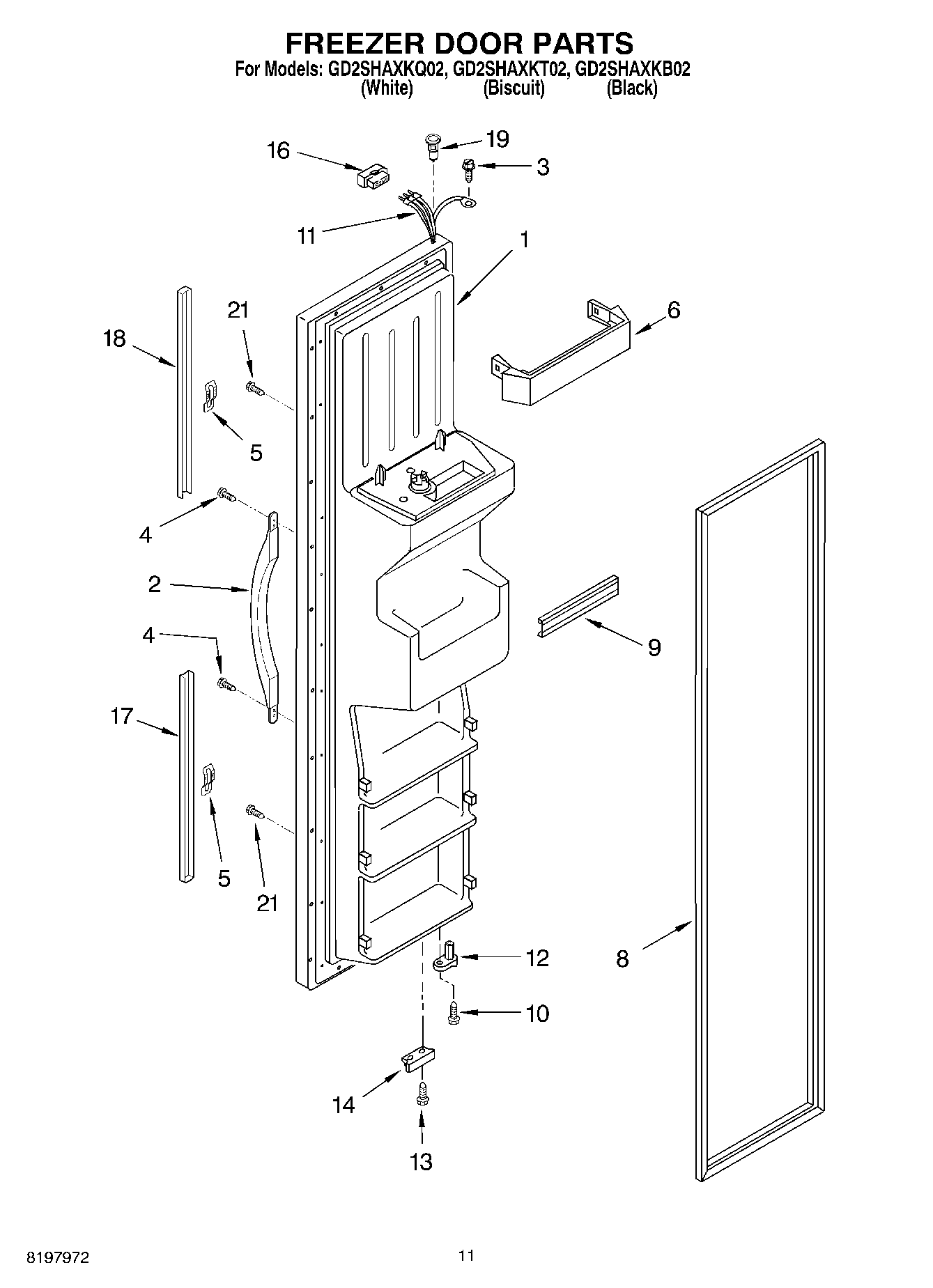
GD2SHAXKQ02 07 – FREEZER DOOR