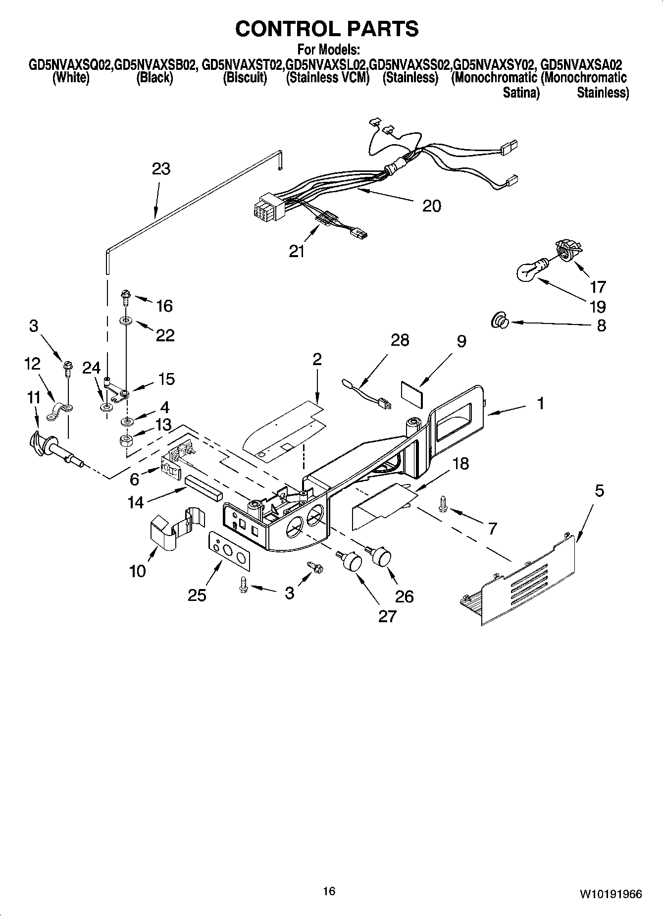
GD5NVAXSQ02 10 – CONTROL PARTS