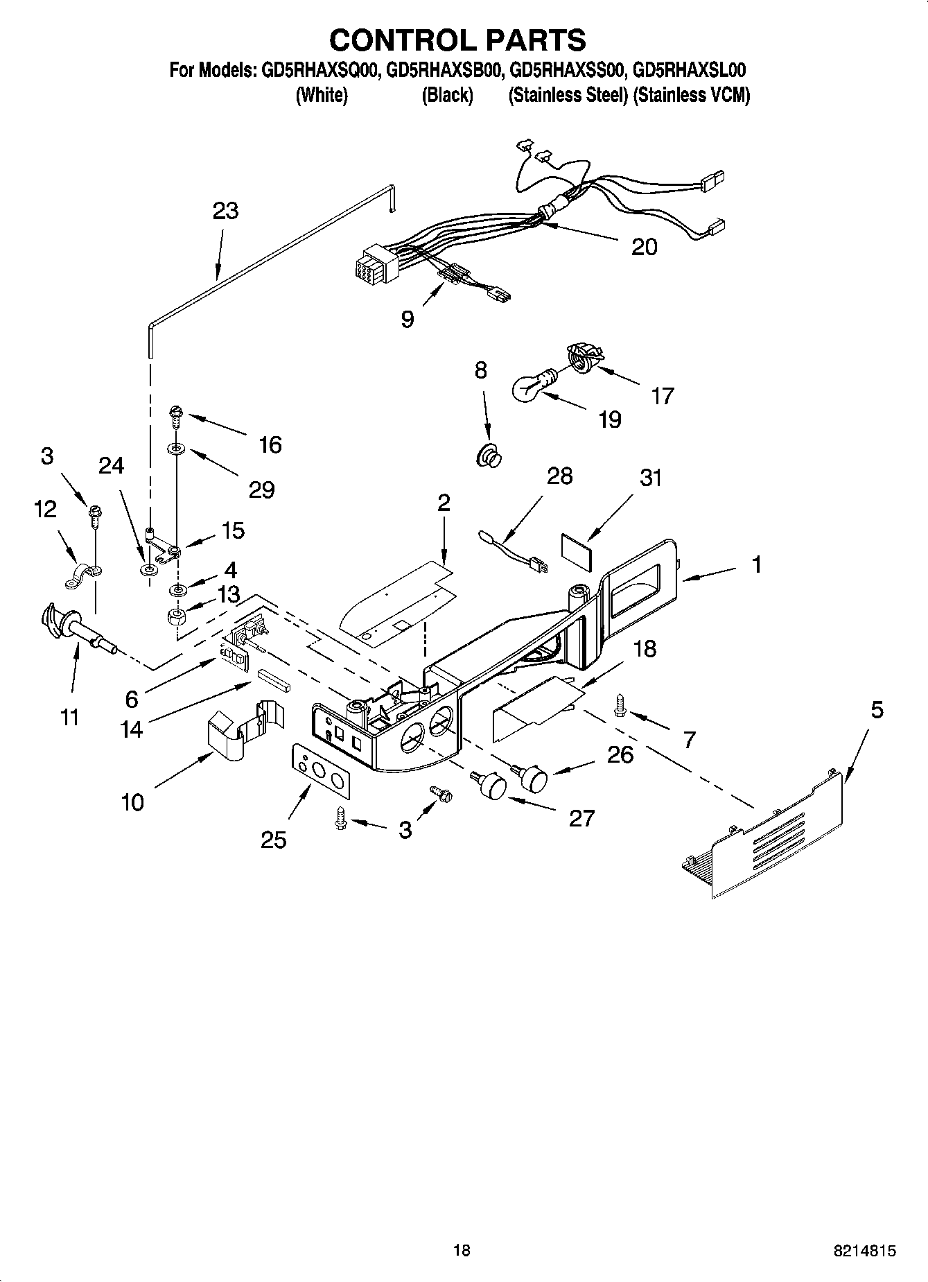
GD5RHAXSS00 11 – CONTROL PARTS