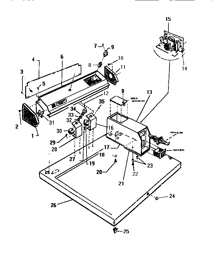
GDD15A1D5 02 – CONSOLE & CONTROLSadmin2025-04-26T12:11:18+00:00GDD15A1D5 02 – CONSOLE & CONTROLS ProductsPositionProduct1WCI Q1664332WCI Q4146054WCI Q1559855WCI Q4350846WCI Q6111967WCI Q4350408WCI Q1255039WCI Q11995910WCI Q41400211WCI Q16643412PUSH BUT.13WCI Q60208914WCI Q42360115WCI Q16668416WCI Q60007317WCI Q60206118WCI 58000719WCI Q16591620WCI Q42870121WCI Q61123522WCI Q43508523WCI Q50278424WCI Q60705125SPRING CATCH26WCI Q62126928WCI Q18331129SCREW (4)30START SWITCH31WCI Q60007732WCI Q40900433WCI Q50145034WCI Q6679335WCI Q435044