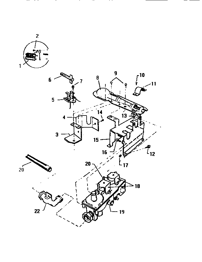
GDD15A1H4 05 – GAS VALVEadmin2025-04-26T12:09:50+00:00GDD15A1H4 05 – GAS VALVE ProductsPositionProduct1SENSOR2SCREW (4)3WCI Q6006014WCI Q198715SPRING ASSY IGNITER6IGNITER7WCI Q197618WCI Q12551610WCI Q41830611WCI Q11603212WCI Q50556413SPEEDNUT (2)14WCI Q41940115WCI Q60063116WCI Q41400117WCI Q50026018WCI Q17185419WCI Q17151120BORIFICES, LP GAS KIT20AORIFICES, MFD GAS20ORIFICES, NATURAL GAS22WCI Q600621