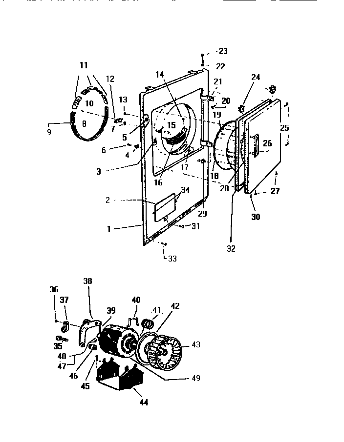
GDD15A1W4 03 – CABINET, TOP PANEL, DOOR BASEadmin2025-04-26T12:09:46+00:00GDD15A1W4 03 – CABINET, TOP PANEL, DOOR BASE ProductsPositionProduct1WCI Q1733312ACCESS DOOR, WHITE12START SWITCH12DOOR SWITCH, WEAT13SCREW (4)14WCI Q40580215WCI Q50145016WCI Q16854117WCI Q50025518WCI Q16770319WCI Q50395220WCI Q50043321WCI Q9465122WCI Q50015524WCI Q63159124WCI Q4012026WCI Q15132627WCI Q41100428SHIELD29WCI Q50455230WCI Q12567432WCI Q12573033WCI Q50168734SUPPORT35WCI Q43340136WCI Q41400137CLAMP38IDLER PULLEY AND BRACKET39SPRING40WCI Q6220641WCI Q9471542WCI Q9494843WCI Q61590144WCI Q8487445SCREW46WCI Q60017947SCREW48PULLEY (SEE NOTE 1)49CSTART SWITCH FOR Q616401 GE49DMOTOR REPLACEMENT (EMER. P/N Q616391) SEE NOTE 149ESTART SWITCH FOR Q616391 EMER.49ASTART SWITCH FOR Q615921 WW