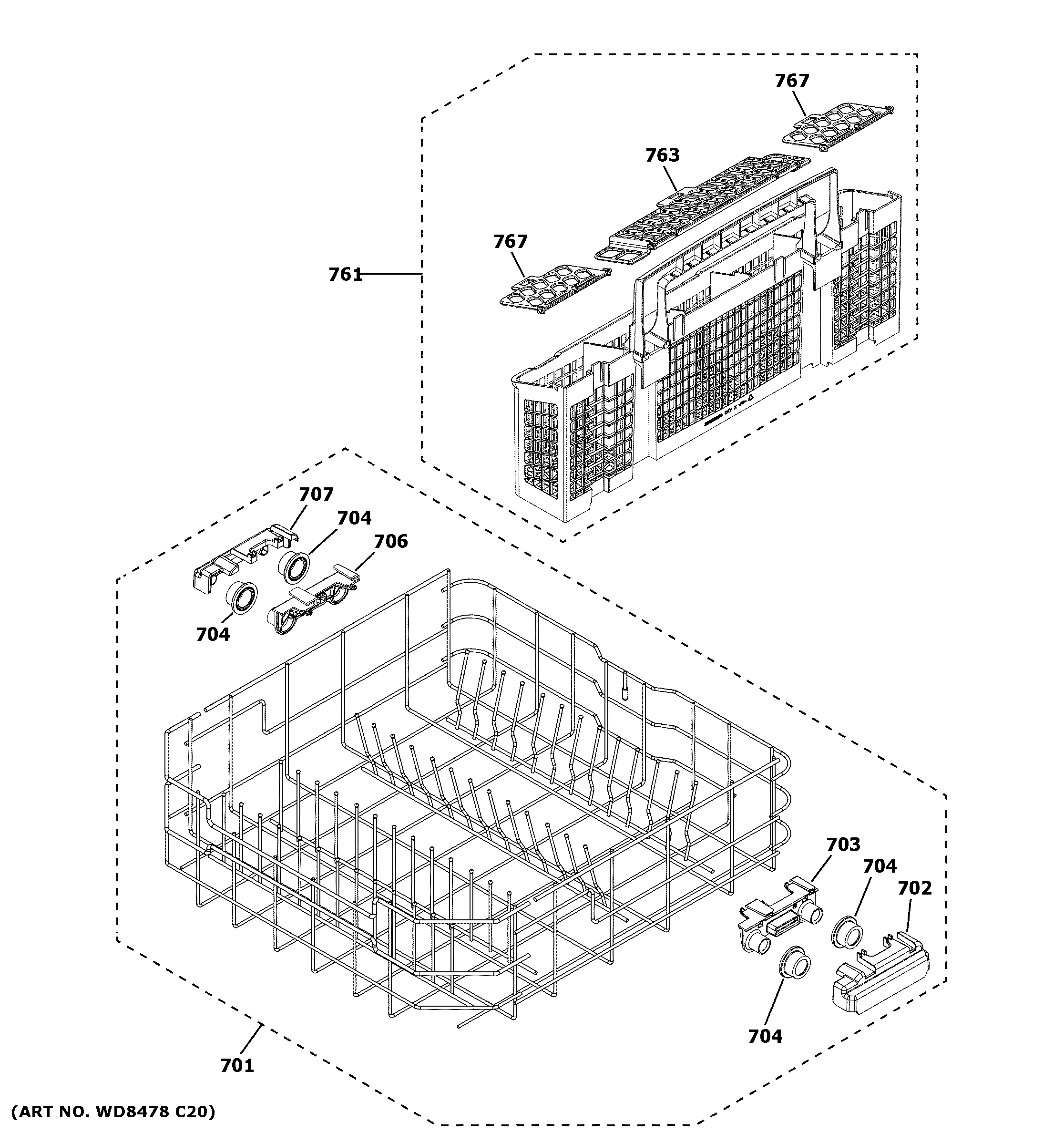
GDF645SSN2SS LOWER RACK ASSEMBLYadmin2025-04-26T10:07:50+00:00GDF645SSN2SS LOWER RACK ASSEMBLY ProductsPositionProduct701LOWER RACK702WD12X10438 GE Dishwasher Cover704WD12X26146 GE Dishwasher Lower Rack Roller707RACK CARRIER AND ROLLER KIT763WD28X24469 GE Dishwasher Silverware Basket Assembly