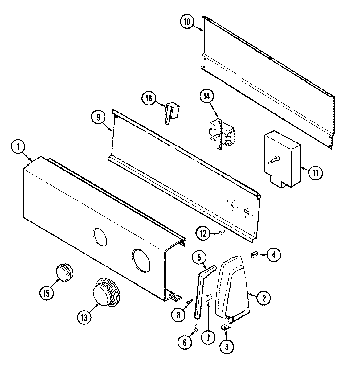
GDGM253A 02 – CONTROL PANEL (REV. A)admin2025-04-26T08:57:38+00:00GDGM253A 02 – CONTROL PANEL (REV. A) ProductsPositionProduct1MAY 53-16932MAY 35-24872MAY 35-24882MAY 25-76493MAY 25-76973MAY 25-78514MAY 25-78524MAY 25-74355MAY 53-02785MAY 53-02776MAY 25-77607MAY 25-77029MAY 53-167610MAY 35-268811MAY 53-181412MAY 25-020513MAY 53-153014MAY 53-034415MAY 35-218616MAY 53-169516MAY 53-168516WP90767 Whirlpool Screw16MAY 53-163916MAY 63-5577-2