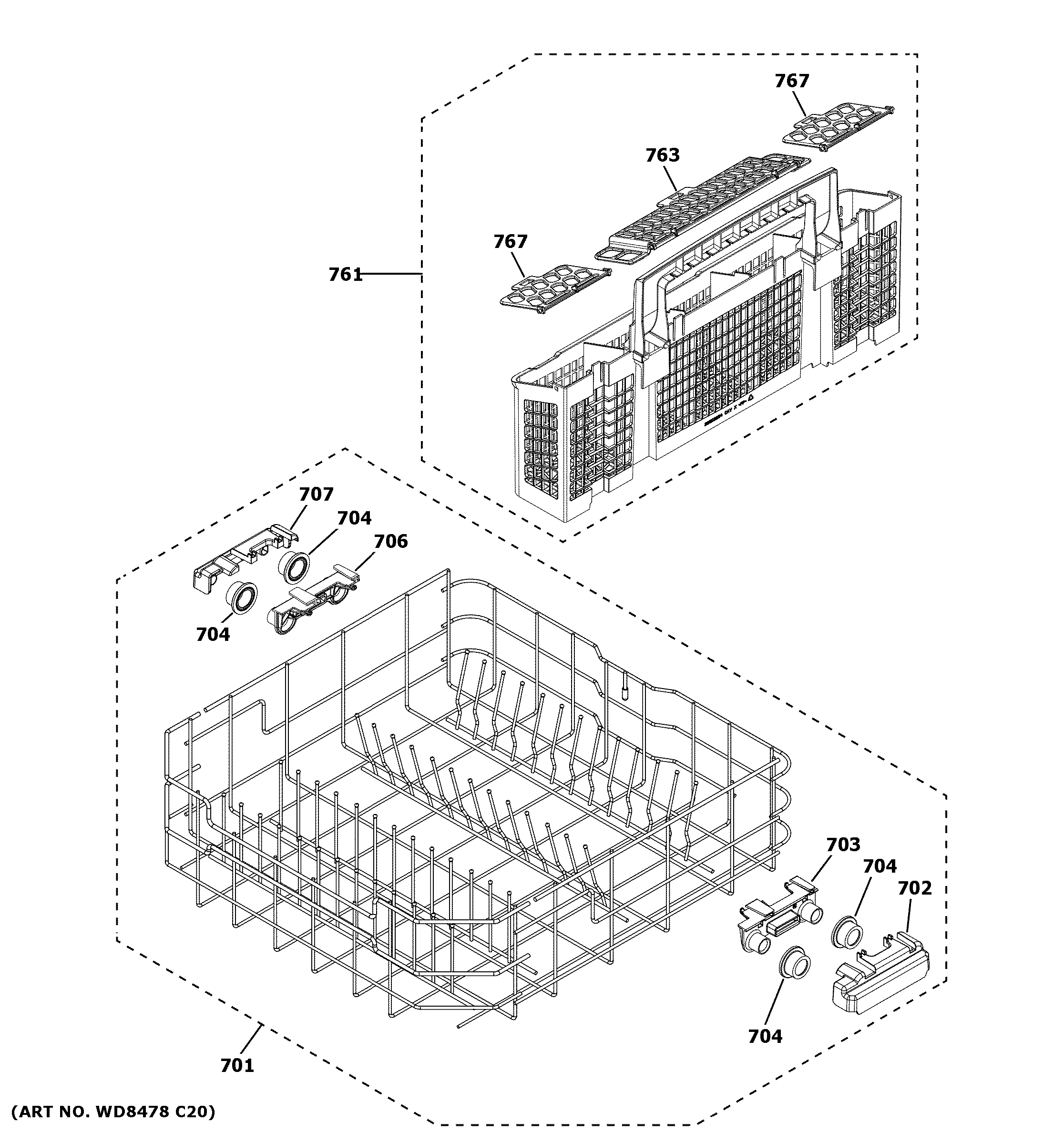
GDT645SFN0DS LOWER RACK ASSEMBLYadmin2025-04-26T10:26:52+00:00GDT645SFN0DS LOWER RACK ASSEMBLY ProductsPositionProduct701LOWER RACK702WD12X10438 GE Dishwasher Cover704WD12X26146 GE Dishwasher Lower Rack Roller707RACK CARRIER AND ROLLER KIT763WD28X24469 GE Dishwasher Silverware Basket Assembly