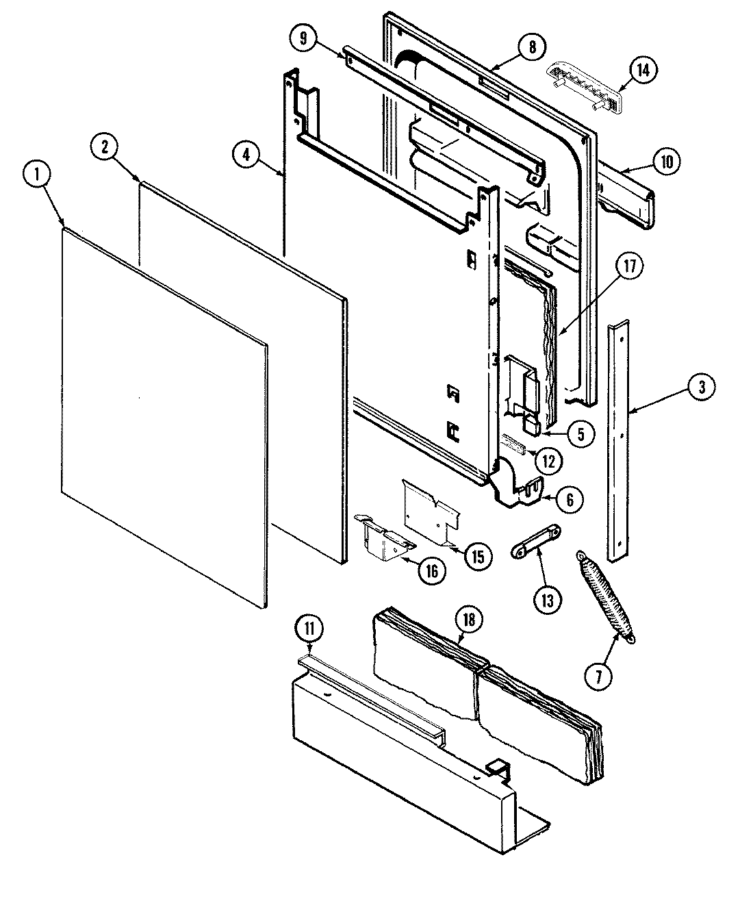
GDU450V 02 – DOOR