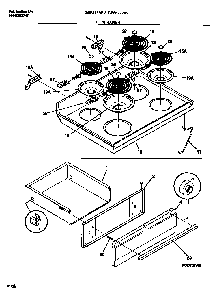
GEF322BBWA 04 – TOP/DRAWER