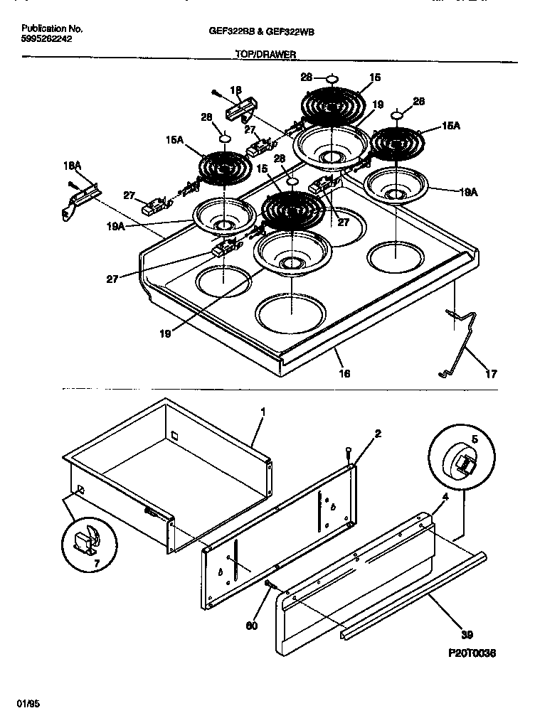
GEF322WBWA 04 – TOP/DRAWER