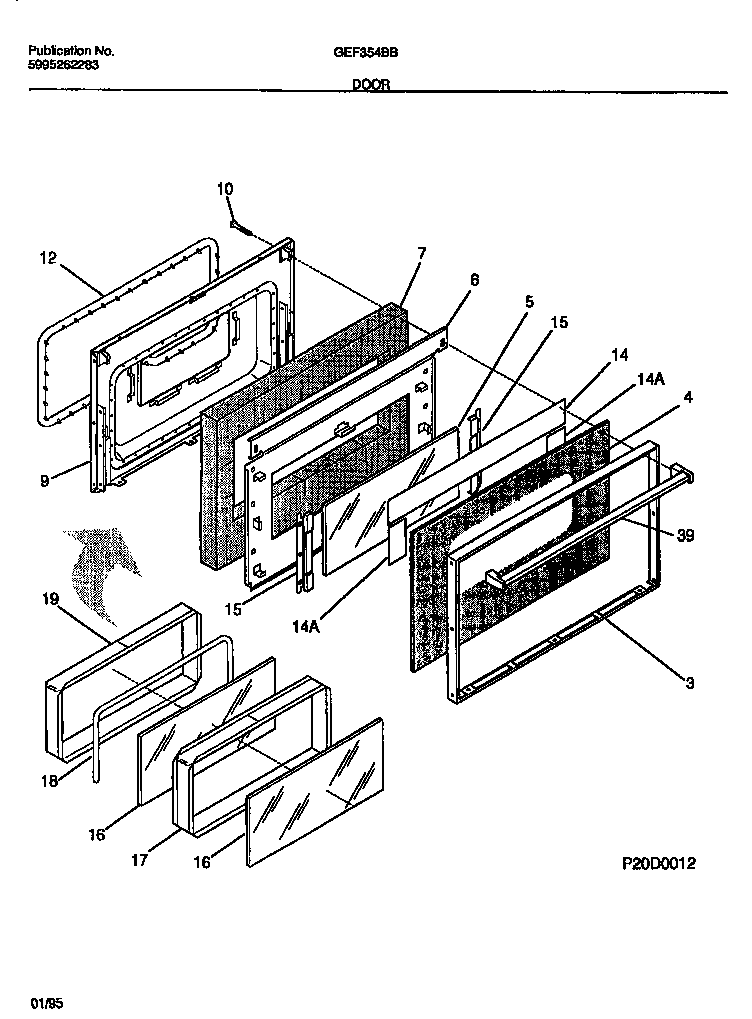
| *09649 | RIVET-POP, WARING-PLATE |
| *09650 | WCI 316065300 |
| *09651 | SCREW, CR PAN HD SEMS, 8-32BP X 1.00 |
| *09652 | WCI 5303269859 |
| *09653 | 5303300265 Frigidaire Oven Screw |
| *09654 | 5303271648 Frigidaire Oven Screw |
| 3 | WCI 316067802 |
| 4 | GLASS-OVEN DOOR, BLACK, OUTER |
| 5 | GLASS-OVEN DOOR, INNER |
| 6 | SHIELD-INSULATION |
| 7 | INSULATION-OVEN DOOR |
| 9 | WCI 316066603 |
| 10 | WCI 5303280308 |
| 12 | 5303131601 Frigidaire Oven Seal |
| 14A | 5303208655 Frigidaire Reflector Assembly |
| 14 | REFLECTOR, ALUMINUM FOIL |
| 15 | BRACKET-GLASS MTG |
| 16 | GLASS-OVEN DOOR, HEAT BARRIER, (2) |
| 17 | WCI 5303209517 |
| 18 | SEAL-ROPE, 0.25 DIA |
| 18A | 131243700 Frigidaire Screw |
| 19 | WCI 316067600 |
| 39 | HANDLE |