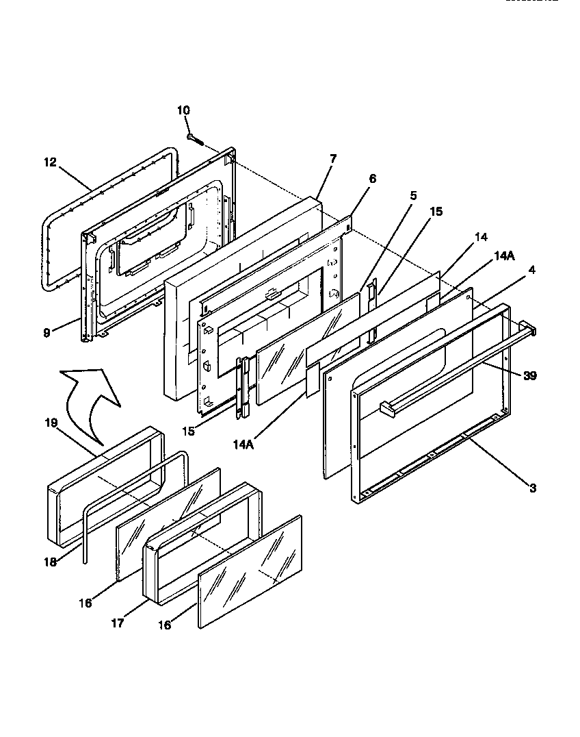
GEF354BBDB 05 – DOOR