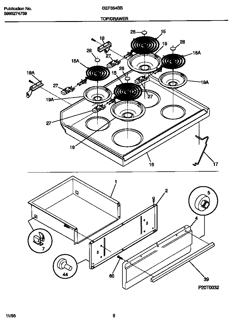
GEF354BBDC 04 – TOP/DRAWER