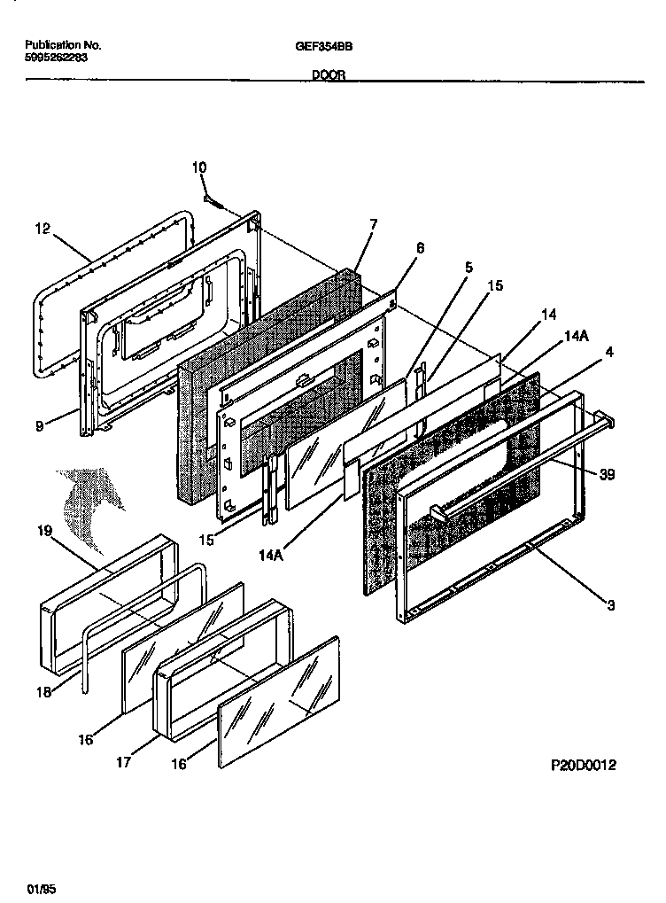
GEF354BBWA 05 – DOOR