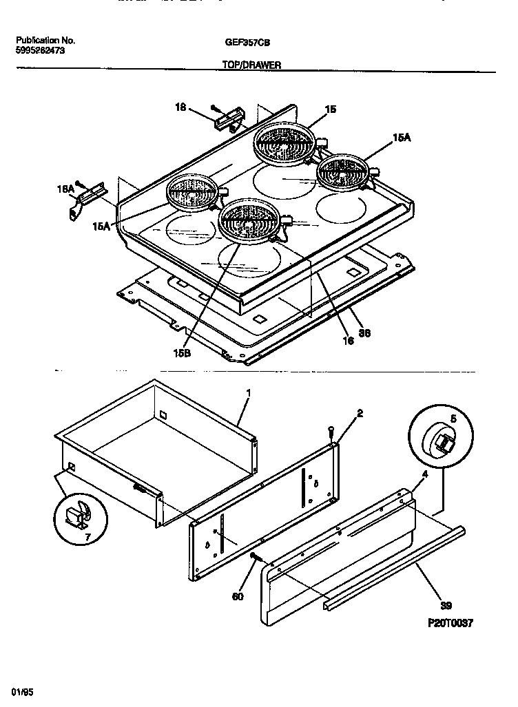
GEF357CBSA 04 – TOP/DRAWER