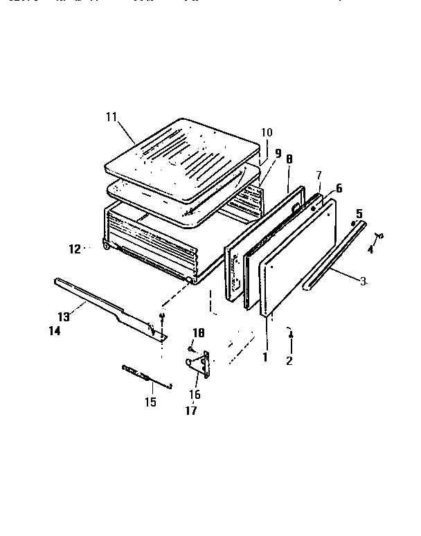
GF201HXD0 07 – BROILER DRAWERadmin2025-04-26T12:09:21+00:00GF201HXD0 07 – BROILER DRAWER ProductsPositionProduct1WCI A983500043WCI Q30181245303292012 Frigidaire Oven Screw5WCI Q616646WCI AP2650087WCI Q1388298WCI Q3018839WCI Q30188110WCI A5300200011WCI A4300100012WCI AP03100413WCI A960700014WCI A9606900015SPRING16HINGE-LH17HINGE-RH18WCI AP051056