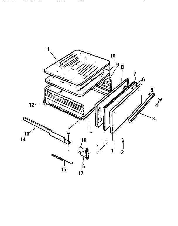
GF201HXF2 07 – BROILER DRAWERadmin2025-04-26T12:10:45+00:00GF201HXF2 07 – BROILER DRAWER ProductsPositionProduct1WCI A983500013WCI Q30181245303292012 Frigidaire Oven Screw5WCI Q616646WCI AP2650087WCI Q1388298WCI Q3018839WCI Q30188110WCI A5300200011WCI A4300100012WCI AP03100413WCI A960700014WCI A9606900015SPRING16HINGE-LH17HINGE-RH18WCI AP051056