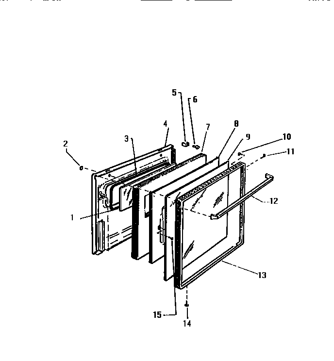
GF470HXD2 06 – DOORadmin2025-04-26T08:56:58+00:00GF470HXD2 06 – DOOR ProductsPositionProduct1WCI AP1612302WCI AP0750193SEAL4WCI Q3019305WCI Q3019366WCI Q3019377INSULATION8SHIELD9WCI Q30193410WCI AP05702511134156200 Frigidaire Screw12WCI Q30193513WCI Q30193814WCI AP05303315BOLT