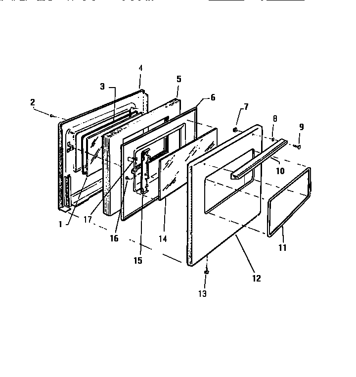
GF470HXF0 06 – DOORadmin2025-04-26T08:56:51+00:00GF470HXF0 06 – DOOR ProductsPositionProduct1WCI AP1612302WCI AP0510563SEAL4WCI Q3019305INSULATION6SHIELD7WCI AP2650088WCI Q6166495303292012 Frigidaire Oven Screw10WCI Q30188411WCI Q30193912WCI Q30199213WCI AP0515114WCI AP16122715CLAMP16WCI AP05105117BOLT