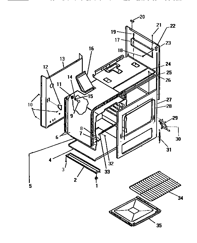
GF470HXF2 05 – BODY, SIDE PANELS