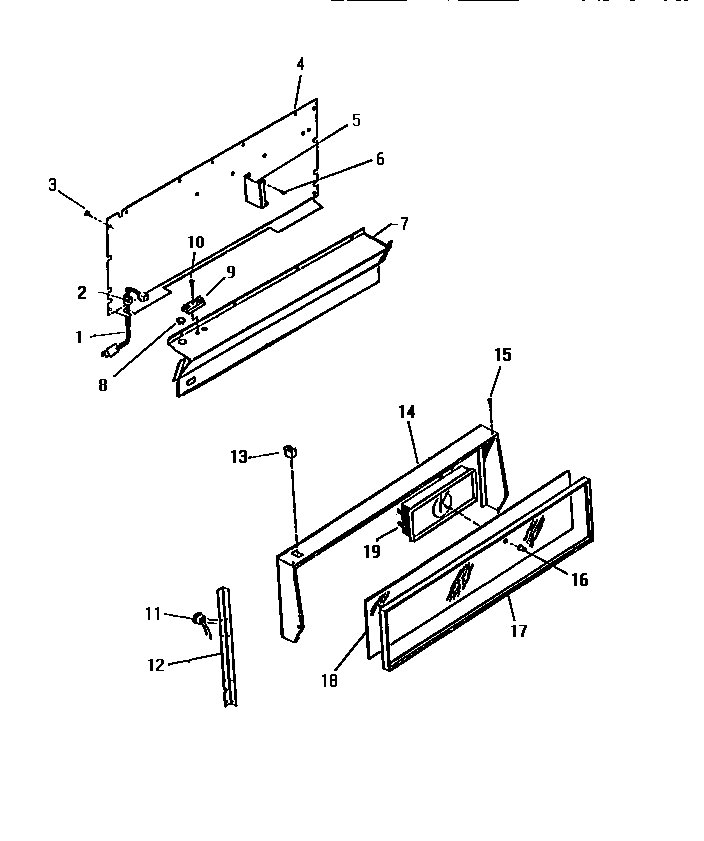
GF470HXF3 02 – BACKGUARD