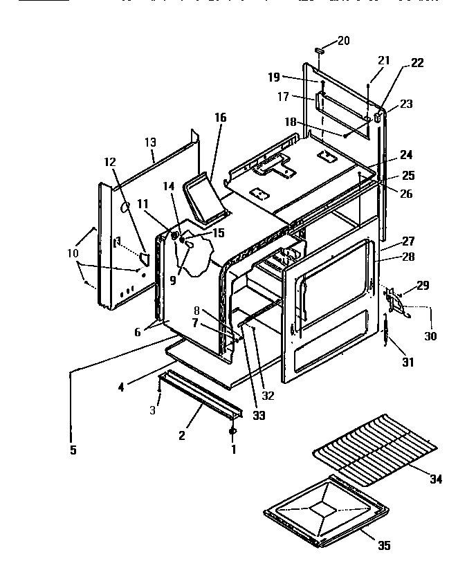
GF470HXF3 05 – BODY, SIDE PANELSadmin2025-04-26T08:57:04+00:00GF470HXF3 05 – BODY, SIDE PANELS ProductsPositionProduct1WCI AP0590092BASE RAIL4PANEL, BOTTOM5CWCI Q3100625BWCI Q3019815AWCI Q3019805WCI Q3019796WCI Q1342347WCI AP3910218WCI AP0510459WCI Q6374911WCI Q31006312WCI A7406000013WCI A508700015WCI Q31006116WCI A9204900017HEAT SHIELD-RH17AHEAT SHIELD, LH (NON-ILLUSTRATED)20WCI Q30183121WCI AP17200222WCI Q31008423BOTTOM PANEL, LH & RH (COFFEE)24WCI Q30196825WCI A7407600027WCI Q30196728WCI AP326052295304500008 Frigidaire Oven Screw30WCI A9606800030A318348801 Frigidaire Oven Left Side Door Hinge31WCI AP33903832WCI AP05105633SUPPORT, BTM34WCI AP30104635WCI Q301977