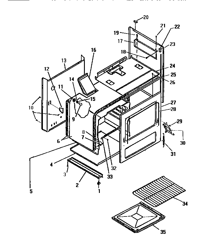
GF470HXV2 05 – BODY, SIDE PANELSadmin2025-04-26T08:56:50+00:00GF470HXV2 05 – BODY, SIDE PANELS ProductsPositionProduct1WCI AP0590092BASE RAIL4PANEL, BOTTOM5CWCI Q3100625WCI Q3019795AWCI Q3019805BWCI Q3019816WCI Q1342347WCI AP3910218WCI AP0510459WCI Q6374911WCI Q31006312WCI A7406000013WCI A508700015WCI Q31006116WCI A9204900017HEAT SHIELD-RH17AHEAT SHIELD, LH (NON-ILLUSTRATED)20WCI Q30183121WCI AP17200222WCI Q31008423BODY PANEL, FR AV24WCI Q30196825WCI A7407600027WCI Q30196728WCI AP326052295304500008 Frigidaire Oven Screw30WCI A9606800030A318348801 Frigidaire Oven Left Side Door Hinge31WCI AP33903832WCI AP05105633SUPPORT, BTM34WCI AP30104635WCI Q301977